все размеры и чертежи, пошаговая инструкция
Для разведения перепелов требуется соблюдение базовых условий их содержания. Чтобы изготовить клетки для перепелов своими руками, потребуется знать все размеры и подготовить необходимые чертежи. Только четкое понимание процесса поможет сделать удобные клетки для птиц. В этой статье изложена вся необходимая информация, требующаяся для сборки.
Требования для клеток
Чтобы птицы могли нормально развиваться, набирать вес и обеспечивать высокую яйценоскость, необходимо соблюдения ряда условий. Их нужно учитывать при выращивании перепелок в клетках дома:
- Емкость должна быть достаточно крепкой, способной выдерживать постоянные нагрузки.
- Если клетка изготавливается из сетки, то нужно подбирать материал с подходящими размерами ячеек. Птицы должны беспрепятственно просовывать через них голову за кормом или водой. Однако нужен баланс, чтобы перепелкам было удобно передвигаться, и они не проваливались в слишком большие ячейки.

Если соблюсти такой баланс не удается, то боковые стенки, где размещены поилки и кормушки, изготавливаются из более крупной сетки. - Оптимальной площадью для каждой птицы считается 0.02 кв. м. или 200 кв. см. Допустимо снижение площади до 150 кв. см. без ухудшения для здоровья птиц.
- В помещение, где будут содержаться птицы, не должны попадать домашние или дикие хищники. В противном случае популяция перепелов окажется под большой угрозой.
- В дикой природе перепелки предпочитают густые заросли. Выращивая птиц дома, нужно обеспечить им аналогичные условия по освещению – небольшой полумрак.
- Клетка должна быть сухой. Во влажной среде развиваются болезнетворные организмы, которые могут нанести вред птицам.
- Помещение, в котором будут разводиться птицы, должно хорошо проветриваться. Но появление сквозняков недопустимо. От них гибнут даже взрослые особи.
Необходимо учитывать стадии развития птиц и цели их выращивания. По таким параметрам клетки делятся на:
- Брудеры для выращивания птенцов до 10 дней.

- Клетки для молодых особей до 1.5 месяцев.
- Емкости для взрослых перепелов.
- Клетки для перепелок для получения яиц.
- Контейнеры для размножения птиц.
- Для заготовки птиц на мясо.
Читайте также: Брудер для цыплят своими руками
[stextbox id=’alert’]Обратите внимание! Каждый из типов таких клеток имеет свои особенности конструкции. Например, для заготовки яиц будет не лишним снабдить клетку лотком-яйцесборником, емкости для птенцов нужно оборудовать дополнительным обогревом.[/stextbox]
Вне зависимости от того, какие цели выращивания перепелок преследуются, каждая емкость должна быть оборудована поилкой и кормушкой. К ним должен быть свободный доступ у каждой птицы.
Понимание этих простых принципов поможет в выборе места, размера емкости и условий для развития птиц. Рассмотрим основные виды клеток для перепелок
Изготовление клеток для перепелов
Любая клетка представляет собой ящик нужных размеров.
Поэтому его можно изготовить из любых подручных материалов. Главное, обеспечить выполнение главных требований по содержанию птиц и сделать им комфортные условия.
Ниже мы рассмотрим несколько доступных и часто используемых видов клеток для разведения перепелов. Вы можете использовать уже готовые решения, либо придумать нечто свое, основываясь на предоставленной информации.
Клетка из фанеры
Дерево является не самым лучшим материалом для изготовления емкостей для птиц. Оно подвержено гниению и быстро приходит в негодность в условиях повышенной влажности. Но деревянные материалы имеют и собственные преимущества:
- Легкость в сборке. При наличии необходимых инструментов, собрать конструкцию воедино можно за несколько минут.
- Простота обработки. Благодаря податливости материала, можно изготавливать детали любого размера и формы.
- Экологическая безопасность. Дерево не содержит вредных веществ (если оно не было обработано ими предварительно).
А значит, не сможет нанести вред птицам.
К тому же, можно использовать в хозяйстве части старых деревянных приспособлений. Например, мебели и предметов домашнего обихода. Это позволит собрать клетку для перепелов практически без сторонних вложений.
Для изготовления потребуются следующие материалы:
- Лист фанеры.
- Сетка для лотка и передней двери.
- Крепежные материалы.
Читайте также: Как сделать поилку для кур
Чтобы получился результат, потребуются изготовить чертеж. Вы можете воспользоваться готовым решением, изложенным ниже, либо преобразовать его под собственные нужды. Так, например, если вы планируете использовать его для большего или меньшего количества птиц, то размеры деталей необходимо скорректировать.
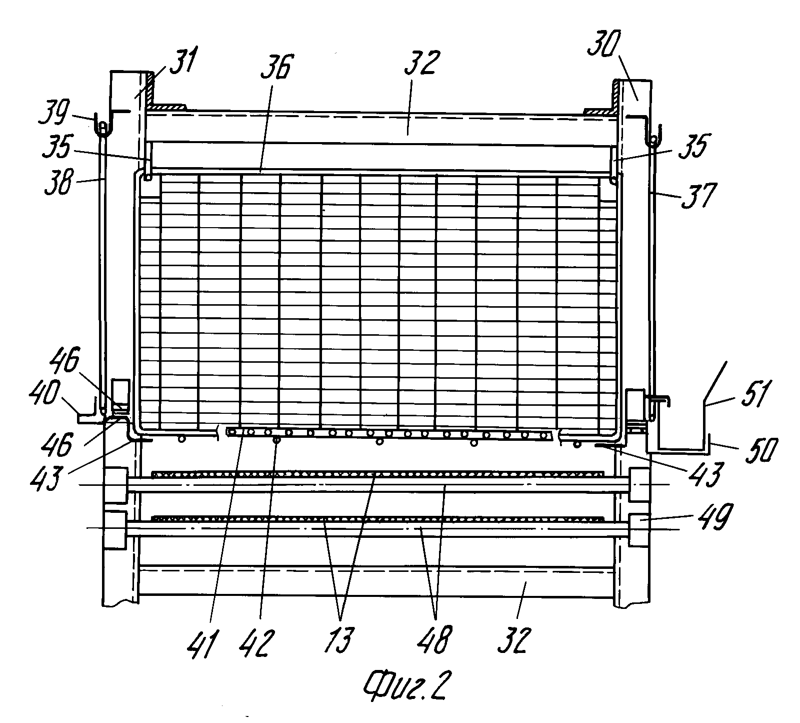
На схеме указаны следующие обозначения:
- Каркас.
- Поилка.
- Решетчатая дверь.
- Кормушка.
- Стопор лотка.
- Лоток для скатывания яиц. Он также играет роль решетчатого пола в клетке.

- Поддон для отходов.
Существует два способа соединения деталей – креплением на каркас или соединением между собой брусками. Если выбран второй способ, то потребуются также соединительные бруски на каждый угол конструкции. Также увеличивается высота боковых стен и задней панели, так как они будут одновременно играть роль ножек. На нашем чертеже использован каркасный способ крепления. Однако вы можете воспользоваться любым.
Пошаговая инструкция по сборке клетки для перепелов из фанеры будет следующей:
[stextbox id=’alert’]Важно! Чтобы обладатели такой клетки и птицы не нанесли себе опасные травмы, все острые углы необходимо сточить. Особое внимание следует уделить сетке, где на местах среза образуются острые углы.[/stextbox]
При изготовлении клетки для перепелов своими руками по чужим чертежам, необходимо соблюдать главное требование по площади, уменьшая или увеличивая все размеры пропорционально.
Вариантов изготовления подобных клеток – множество. И их можно адаптировать под свое количество птиц. На фото ниже изображена емкость, изготовленная полностью из фанеры, включая переднюю панель. При таком варианте соблюдается природная затененность, которую любят перепелки. Дверь установлена по створчатой системе и является одновременно потолком.
Большое внимание следует уделить поилкам и кормушкам. Для поилок рекомендуется использовать ниппельную систему. Она не позволяет воде застаиваться и в нее не попадают сторонние предметы, помет и пыль.
Особенность перепелок – искать лучшую еду, может стать проблемой при их разведении дома. Уже через несколько часов после засыпания корма, он частично окажется разбросанным по полу. Чтобы избежать этого, корм накрывается тонкой сеткой из оцинкованного железа. Это не мешает птицам его клевать, но предотвратит разбрасывание.
Читайте также: Как сделать кормушки для кур своими руками
Клетка из сетки
В последнее время птицеводы предпочитают использовать в домашнем хозяйстве клетки из металлической сетки.
Такая конструкция имеет достаточно высокую прочность при минимальном весе. Это позволяет делать многоэтажные конструкции, выращивая на одинаковой площади большее поголовье пернатых.
Для изготовления основной части клетки потребуется сетка. На предложенном выше чертеже указаны все размеры. Размечаем сетку и сгибаем ее по линиям. Если все было соблюдено в точности, то основа будет практически готовой. Вам останется только установить боковые части и закрепить их. Сделать это можно крепкой проволокой.
Далее устанавливаем на переднюю стенку кормушку и поилку. Если высота клетки и размеры приспособлений не позволяют сделать это на одной стороне, то их разводят по противоположным участкам.
При необходимости нужно удалить несколько секций в сетке, чтобы перепелки могли свободно просунуть голову к кормушке и поилке.
Под низ ставится поддон из листа оцинкованного железа, фанеры или пластика для сбора отходов жизнедеятельности. Детально изучить процесс сборки клеток из металлической сетки поможет это видео:
Если вы желаете сделать многоярусную конструкцию, то следует задуматься о каркасе. Его можно изготовить из профиля из металла. Его легко собирать, он очень прочный и способный выдерживать высокую нагрузку.
Читайте также: Как сделать поилку для цыплят своими руками
Сборка клетки не будет отличаться от предыдущего варианта. Единственное исключение – сетка дополнительно крепится к каркасу из профиля. Более подробно показано на схеме ниже.
[stextbox id=’alert’]Важно! Решив разводить птиц в домашних условиях, следует четко рассчитать свои силы. Не стоит сразу брать большое количество перепелок. Особенно, если вы не имеете навыка разведения и ухода за ними. Также не стоит собирать в одном помещении более 50 голов птиц. В таких условиях их яйценоскость сильно падает, и появляются проблемы со здоровьем.
[/stextbox]
Клетка из ящиков для овощей
Чтобы сделать такую конструкцию, не нужно проводить сложные расчеты, иметь в наличии дорогостоящие инструменты и проводить не самые простые работы. Объем ящиков идеально подходит для выращивания перепелов.
Чтобы сделать простейшую емкость для перепелок из пластиковой тары, потребуется один высокий овощной ящик и два низких. По ширине и глубине они должны быть идентичными.
Процесс сборки будет выглядеть следующим образом:
- Острые углы по краям ящиков обрезаются.
- На первый низкий ящик ставим высокий дном вниз. Нижняя часть будет служить поддоном для сбора помета. Поэтому удаляем боковую часть секции нижнего ящика, чтобы получить доступ внутрь.
- Вторым низким ящиком закрываем высокую тару. Соединяем между собой части конструкции металлической проволокой или пластиковыми хомутами.
- В верхней части тары нужно вырезать дверцу, чтобы иметь возможность закладывать и вынимать птиц.

- На боковые части центральной секции крепятся поилка и кормушка. Так как сетка мелкая, потребуется вырезать несколько кусков, чтобы в них могли спокойно пролезть птичьи головы.
- В нижнюю часть ставим поддон из нержавейки, фанеры или пластика. Рекомендуем стелить на него газету и регулярно ее менять. Это существенно упростит процесс чистки поддона.
[stextbox id=’alert’]Обратите внимание! Как видно по фото, данная конструкция имеет ряд серьезных недостатков. Например, нельзя установить лоток для сбора яиц. Она подходит для временного содержания птиц. Если вы планируете серьезно заняться разведением перепелок, то рекомендуем использовать сеточные или фанерные модификации.[/stextbox]
Зная все размеры и подготовив заранее чертежи, можно легко собрать клетки для перепелов своими руками.
При наличии комфортных условий для птиц, они быстро размножаются и показывают высокую яйценоскость. Если же вы планируете разводить пернатое поголовье на мясо, то нужно немного ограничивать им свободное пространство. В замкнутом помещении они мало передвигаются и быстро набирают вес. Учитывайте эти особенности, при определении параметров клеток.
Клетки для перепелов — как сделать своими руками, размеры на 10 и 50 голов
Перепела – популярная одомашненная сельскохозяйственная птица, которую начали выращивать десятки лет назад. Ее разводят для получения яиц и мяса – оба продукта относятся к деликатесным, имеют высокую стоимость и нежный вкус. Большинство разновидностей перепелов являются достаточно мелкими, требуют соответствующих условий содержания и качественного питания. Далее вы узнаете о том, какими должны быть клетки для этих птиц, как их делают самостоятельно. Также будут рассмотрены основные материалы, применяемые для выполнения работ, и чертежи.
Требования к клеткам
От условий содержания зависит здоровье и рост птиц, поэтому им нужно уделять особое внимание.
Выбор нужной по возрастам
Самое простое решение вопроса с выращиванием перепелов – покупка готовой клетки в специализированном магазине. Главное правильно подобрать модель по возрасту, поэтому заранее определитесь, будете вы брать 10-тидневных птенцов, молодняк или взрослых особей. В принципе брать маленькие клетки, чтобы потом заменять их на большие, нет смысла, поэтому специалисты рекомендуют сразу брать стандартные конструкции для родительского стада. Примерные размеры приведены в таблице.| Размеры клетки | 10 голов | 30 голов | 50 голов |
| для родительского стада | 30*75 см | 45*150 см | 75*150 см |
| для перепелов на откорме | 25*60 см | 35*120 см | 60*120 см |
Рассмотрим разницу между покупными и самодельными клетками.
Самодельные стоят недорого, изготавливаются из подручных материалов и позволяют экономить деньги. Покупные – вариант практичный, но их еще нужно будет доставить на ферму. Также готовые модели не всегда отвечают требованиям, предъявляемым к конкретному поголовью.
Где разместить
Успех выращивания перепелов во многом зависит от соблюдения требований к размещению птиц. Идеальное место для установки клеток – отдельно стоящий капитальный (а не сарайный) курятник. Чем уютнее и теплее будет птицам, тем выше шансы построить прибыльный успешный бизнес. Оптимальные температурные показатели – 20-25 градусов, в жару и холод птицы плохо себя чувствуют, становятся вялыми или беспокойными, начинают хуже нестись. Также узнайте почему не несутся куры в этой статье.
Освещение внутри домика слишком резким делать не следует.
Если в регионе вашего проживания световые дни короткие, нужно будет сделать подсветку до 18 часов в сутки.
Также в помещениях должно быть достаточно сухо – размещайте клетки подальше от водоемов, лучше всего на возвышенности.
Нормы по площадям
Норма по площади клеток для перепелов – 18 дм2 на 10 голов, если выращивается родительское стадо, и 15дм2 на 10 голов, если птицы выращиваются для получения яиц/на забой. Про пользу перепелиных яиц читайте тут.
Не превышайте нормативы, иначе особям будет не комфортно, и бизнес окажется под угрозой.
Дополнительные установки
Выше мы рассмотрели все основные требования, предъявляемые к клеткам для перепелов. Также есть нормы практичности, жесткости, показатели качества материалов и наполнения конструкций, используемых для выращивания птиц. Чтобы перепелам было комфортно, обязательно оборудуйте клетки гнездами, поилками, автокормушками для кур. Все эти элементы можно делать самостоятельно либо покупать в готовом виде.Строим сами
Если вы твердо решили делать домики для перепелов своими руками, вам будет полезна изложенная далее информация. Все материалы доступно стоят и находятся в свободной продаже.
Из фанеры
Самый распространенный вариант – фанерная клетка на 20 голов. Во-первых, данный материал является недорогим, простым в работе, экологичным. Во-вторых, с 20 головами начинающему птицеводу справиться проще всего. Про содержание перепелов в домашних условиях читайте здесь.
Чертежи
Предлагаем вашему вниманию стандартный чертеж клетки из фанеры. Размеры могут изменяться с учетом предпочтений фермера, количества заселяемых особей. Слишком тесными или наоборот просторными клетки быть не должны – придерживайтесь принципа золотой середины.
Схема: Клетка для перепелов.
Обязательно обработайте брус антисептиком до начала выполнения работ.
Пошаговая постройка
Действия поэтапно:
- Делайте заготовки – по 4 детали на 60 и 70 см, 4 стойки на 90 см. Из заготовок соберите каркас.
- Обтяните каркас сеткой, вырежьте из нее ниши, сформируйте напольное и потолочное пространства. Крепить сетку можно гвоздями, саморезами, скрепками, главное, чтобы она хорошо держалась.

- Смонтируйте под небольшим углом сетчатый пол (яйца должны свободно скатываться в яйцесборник). Ячейки сетки должны быть достаточно крупными и пропускать помет.
- Соорудите сетчатый яйцесборник и установите его как продолжение пола.
- Сделайте откидную крышку, посадите ее петлями на каркас.
- Закрепите поддон для сбора испражнений.
Из пластиковых ящиков
Самодельный эконом-вариант клетки. Ящики можно использовать любые, в том числе из-под овощей, рассады, фруктов. В итоге несколько решетчатых ящиков соединяются в клетку. Про комбикорм для перепелов читайте в этом материале.
Чертежи
С пластиковыми ящиками работать очень просто – посмотрите чертежи и вы убедитесь в этом сами. Обратите внимание, что ящик может быть один (простая конструкция) или несколько (многосекционный вариант). Пластиковые клетки легкие, прочные и не представляют сложностей в уходе.
Пошаговая постройка
Инструкция по сборке клетки пошагово:
- Берите 3 ящика (стандартный вариант) – один большой и два поменьше.
Вверху каждого отрежьте выступающие уголки. - Соберите каркас, большой ящик нижней частью установите в любой маленький и накройте его вторым сверху. Все детали прочно скрепите проволок из металла.
- Сделайте крышу – на дне самого верхнего ящика нужен разрез по трем сторонам их четырех.
- Установите поилки с кормушками – в пластиковых клетках их цепляют снаружи.
Этот вариант подходит на 20 голов перепелов. Для большего стада потребуются дополнительные ящики.
Клетки-батареи
Батарея – оптимальный вариант для небольшого поголовья, северных регионов (фанера хорошо защищает от влажности, сквозняков и является намного теплее сетки).
Чертежи
Клетка-батарея собирается как коробка или каркасным способом. В первом случае скелета у постройки не будет – листы фанеры крепятся на стыках друг к другу специальными деталями. Обязательно запаситесь набором инструментов и деревянными уголками.
Клетка-батарея для перепелов.
Пошаговая постройка
Последовательность выполнения работ:
- Вырежьте из листов фанеры все детали – одна 70*35 см, две 35*20 см, одну 70*20 см.
Металлическую сетку для стен можно брать больше, чем для пола. В боковых деталях сразу просверлите отверстия для вентиляции, установки приборов освещения. - Продезинфицируйте все работе детали антисептиками, покройте лаком.
- Соберите боковые стенки с применением уголков. Дополнительно можно склеить листы в проемах.
- Закрепите переднюю стенку и пол.
Это, собственно, и все – останется сделать дверцу, крючки, навесы. Дверь лучше всего делать из сетки.
Бескаркасные (сеточные)
Каркасные клетки считаются самыми надежными, но многим фермерам нравятся и сеточные варианты без каркасов.
Чертежи
Чертежи сетчатых клеток для перепелов используются те же, что для сооружения деревянных конструкций. Сетки нужны с разными размерами ячеек, также вам потребуются подпорки, аппарат для сварки, проволока.
Чертеж бескаркасной клетки для перепелов.
Пошаговая постройка
Руководство:
- Вырежьте из сетки два полотна 70*60 см, два 60*45 см и два 70*45 см.

- Соберите основу и сварите элементы.
- Смонтируйте пол с яйцесборником (пол устанавливается под небольшим углом).
- Армируйте клетку для придания ей дополнительной жесткости.
- Установите подпорки с поддоном.
Особенности клеток
Клетки для перепелов имеют ряд особенностей в зависимости от того, для птиц какого возраста они предназначены.
Перепелята
Перепелят содержат в брудерах – маленьких теплых домиках, которые заменяют им наседку. Брудеры применяются в выращивании разных видов домашней птицы. Стенки делаются из плотного материала (чаще всего это фанера), потолок должен быть решетчатый. Главные условия нормального выращивания перепелят – тепло, большое количество света, отсутствие сквозняков. Температуру с 37 до 25 градусов понимают постепенно в течение месяца. Для освещения желательно использовать инфракрасные лампы для курятника.
Для несушек
Несушкам нужны чистота, гнезда и яйцесборники.Продумайте конструкцию таким образом, чтобы яйца самостоятельно скатывались в предназначенные для этого емкости.
Инстинкт насиживания у перепелов разный, поскольку он зависит от направления, но гнезда нужно делать обязательно. Напольное покрытие должно быть цельным. Когда начинают нестись перепела расскажет эта ссылка.
Бройлерные перепела
К бройлерным относят перепелов в возрасте старше одного месяца. Стенки их клеток делаются сетчатыми или решетчатыми, ячейки пола могут быть достаточно крупными, поскольку птицы выросли и не будут проваливаться в них.
Бройлерам брудер не требуется, поскольку защитные силы организма у них итак высокие.
Оптимальные материалы для изготовления домиков – дерево или металл, каркас нужен. Если вы готовите птиц к забою, используйте низкие клетки, в которых перепела будут мало двигаться и лучше набирать массу.
Какая конструкция подойдет для квартиры
Для квартиры подойдет любая конструкция на 10-20 голов – большую клетку устанавливать неудобно. Опытные птицеводы рекомендуют для квартирного выращивания птиц бескаркасные блоки и батареи, но можно делать и деревянные ящики, блоки из пластиковых контейнеров.
Главное, чтобы птицам было достаточно места, помещение оказалось сухим и хорошо освещаемым, ничто не затрудняло уход за молодняком и взрослыми особями.
Продумайте вентиляцию – она нужна самим птицам для поддержания здоровья и вам лично, чтобы избежать появления неприятных слишком резких запахов.
Перепелов можно содержать в том числе в квартире. Для этих целей можно использовать все виды самодельных клеток.
Видео
Видео про построение клетки для перепелов своими руками.
Выводы
- Клетки для кур и перепелов можно покупать готовые или делать своими руками.

- Типы содержания птиц – на фермерских хозяйствах и в квартирах.
- Основные варианты самодельных клеток – батареи, без каркаса, из пластиковых ящиков, деревянные.
- Размеры клетки зависят от числа голов.
Клетка для перепелов своими руками: пошаговая инструкция
Когда есть желание дома развести перепелок, для них придется построить жилье. Вольеры для этих птиц не подходят. Клетки, конечно, проще купить, но лишние затраты не каждому птицеводу по карману. Если к этому вопросу подойти творчески, то домашняя перепелиная ферма может быть оборудована самодельными домиками. Сейчас мы рассмотрим, как изготовляются клетки для перепелов своими руками из разных материалов.
Предъявляемые к клеткам требования
В первую очередь самодельная клетка для перепелов должна быть крепкой. Если используется металлическая сетка, размера ее ячеек должно быть достаточно только для того, чтобы голова птицы пролезла к кормушке. Через присутствующие в конструкции большие отверстия юркие перепела мгновенно повыскакивают.
Во время самостоятельного изготовления клеток для перепелов необходимо учесть количество поголовья. На одну птицу должно приходиться около 200 см2 свободного пространства. Часто сделанные птицеводами домики предусматривают для одной особи 150 см2 свободного пространства, что тоже неплохо для перепелки.
Внимание! Помещение, где будут установлены клетки с перепелами, надо защитить от проникновения хищных животных и сквозняков.
Перепела в дикой природе обитают на густо заросших травой участках. Птицы любят полумрак и изредка выбираются на солнце. Аналогичную обстановку потребуется им обеспечить дома.
Чертеж перепелиной клетки
Раз уж принято решение бесплатно дома построить клетки, то для работы понадобятся чертежи. В принципе схема любой конструкции представляет обыкновенный ящик. Отличительной чертой является дно. Для взрослых перепелов его делают под уклоном 12о в сторону яйцесборника. Когда самки начнут нестись, яйца по наклонному полу будут скатываться в закрепленный за пределами клетки лоток.
Исходя из того, что взрослой птице необходимо около 200 см2 свободного места, вычисляем размеры клетки для перепелов, с учетом еще того, что семья состоит из одного самца и четырех самок. Обычно ширину домика делают небольшую примерно от 30 до 50 см. Перепела растут небольшие, и высоты потолка 25 см им будет достаточно. Длину клетки рассчитывают по количеству живущих перепелов.
На представленном чертеже клетки для перепелов показана трехъярусная конструкция. Такие модели лучше всего подходят для домашнего пользования, благодаря экономии места. При желании ярусов можно сделать больше или меньше.
Совет! Изготовляя многоярусные клетки необходимо предусмотреть удобный доступ к верхней секции без использования лестницы и других подобных конструкций.
Размеры клеток для разновозрастного поголовья перепелов
Сейчас настало время рассмотреть клетки для содержания перепелов разного возраста. Если принято решение всерьез заняться разведением этой птицы, то придется изготовить разновозрастные домики, отличающиеся своей конструкцией:
- Новорожденным птенцам до десятидневного возраста понадобятся брудеры.
У такого домика три боковых стенки выполнены из ДСП, ДВП или фанеры. Передняя четвертая стенка, пол и потолок закрыты мелкоячеистой сеткой 10х10 мм. Вместо сетки, потолок можно закрыть ДВП или простым картоном. Кормушку с поилкой ставят внутрь клетки, птенцам обеспечивают освещение и подогрев. - Следующая модель предназначена для молодых перепелов возрастом до 45 суток. В первую очередь конструкция предусматривает пол из сетки с более крупными ячейками, но не более 16х24 мм. Все боковые стенки могут быть не сплошные. Здесь предпочитается сетка для клеток перепелов с размером ячеек 24х24 мм.
- Домики для взрослых перепелов могут быть полностью сетчатые или с тремя фанерными боковыми стенками. Чтобы снизить стоимость расходных материалов, металлические боковые сетки заменяют пластиковыми аналогами. Размер ячеек сетки боковых стенок должен быть в пределах 32х48 мм, а для дна пойдет сетка с ячейками 16х24 мм. В домиках, где будут жить несушки, дно делают с уклоном в сторону лотка для сбора яиц.
Сам лоток может быть просто продолжением дна, но обязательно с ограничителем на краю. Иначе яйца будут выкатываться, и падать на землю. - Особое внимание нужно обратить на клетки, в которых будут содержаться перепела на мясо. Домики делают только из сетки с ячейками 32х48 мм. Причем важно ограничить птицам пространство меньшими размерами клетки и высотой потолка. Чем меньше перепелка будет двигаться, тем быстрее она наберет вес.
Разобравшись с основными требованиями, переходим к изготовлению по пошаговой инструкции клетки для перепелов своими руками из разных материалов.
Домик из сетки с деревянной рамой
Представленная на фото клетка для перепелов имеет деревянный каркас. Все бока, потолок и пол закрыты металлической сеткой. Поэтапная сборка конструкции состоит из следующих шагов:
- Деревянные элементы с помощью саморезов соединяют под прямым углом так, чтобы получился контур ящика. На угловых стыках можно прикрутить саморезами накладные металлические уголки.
Они предотвратят расшатывание каркаса. - Когда рама полностью будет готова, древесину желательно обработать антисептиком, затем вскрыть лаком. Эта процедура направлена на продление срока службы деревянного каркаса.
- Из металлической сетки вырезают фрагменты по размеру сторон каркаса. К деревянной раме сетку прибивают маленькими гвоздями, загибая их. Последним рядом гвоздей стараются натянуть сетку, чтобы она не провисала.
Когда каркас будет полностью обтянут, под низ крепят лотки для сбора яиц и устанавливают под напольную сетку поддон из листовой стали. В финале нужно осмотреть всю конструкцию, чтобы на ней отсутствовали острые концы сетки и торчащие гвозди, о которые могут пораниться перепела.
На видео показаны клетки для перепелов:
youtube.com/embed/bZjHugeOfd4″/> Бескаркасная клетка из металлической сетки
Самый простой и быстрый вариант собрать домик для перепелов – это выгнуть его из металлической сетки. Конструкция не предусматривает никакого каркаса. Надо выполнить следующие действия:
- Из металлической сетки сгибают прямоугольный короб. В такой конструкции отсутствуют две боковые стенки. Их вырезают отдельно, и с помощью проволоки крепят к получившейся коробке. Причем один фрагмент фиксируют наглухо, а во втором делают дверцу. Это будет лицевая сторона клетки.
- Для дна вырезают фрагмент из мелкоячеистой сетки, и крепят ее под углом 12о в сторону клетки, где расположена дверца. Здесь же будет яйцесборник. Он является продолжением дна, только на краю крепят ограничитель из любой деревянной планки. Можно просто загнуть края сетки.
Домик для перепелов готов. Осталось под сетку пола установить поддон и можно заселять птиц.
Фанерный домик
Изготовление фанерного домика оправдано чистотой помещения, где она будет находиться.
Летящие с перепелов перья и пыль будут оседать на поддоне, а не падать на землю, как в случае с сетчатыми клетками.
Порядок изготовления фанерного домика состоит из следующих шагов:
- Из деревянного бруса сечением 50х50 мм изготавливают каркас. Желательно делать многоярусную конструкцию на ножках. Рама изготавливается по методу каркасной клетки из сетки.
- Получившийся скелет конструкции необходимо обшить. Здесь подойдет тонкая фанера или ДВП. Фрагменты вырезают по размеру трех боковых сторон и потолка. В листах сверлят несколько рядов вентиляционных отверстий диаметром 30 мм. Каждый фрагмент прибивают к каркасу гвоздями.
- Готовую конструкцию обрабатывают антисептиком, после чего вскрывают лаком. Из аналогичных брусков изготовляют рамы дверок для каждой секции клетки. Из металлической сетки вырезают фрагменты по размеру рамок, и крепят ее гвоздями. Готовые дверцы с помощью навесов закрепляют к раме на лицевой части домика.
Пол, продолжение которого является яйцесборником, вырезают из мелкоячеистой сетки и прибивают к раме гвоздями.
Под пол каждой секции устанавливают поддон.
Домик из пластиковых ящиков
Нельзя сказать, что клетка для перепелов из пластиковых ящиков идеальный вариант, но как выход из ситуации на первое время приемлема. Чтобы собрать конструкцию понадобятся три пластиковых ящика одинакового размера, но разной высоты. Устанавливают контейнера друг на друга так, чтобы высокий ящик оказался между двумя низкими. Нижний контейнер будет поддоном клетки. В верхнем ящике ножом вырезают проем для дверцы. В боковой полке среднего ящика увеличивают отверстия, чтобы перепелка смогла просунуть голову к кормушке.
На видео клетки для перепелов своими руками из ящиков:
Что такое клеточные батареи
Дома и на производстве хорошо зарекомендовали себя клеточные батареи для перепелов, позволяющие экономить полезную площадь.
Что же это такое? Ответ прост. Батарея представляет набор клеток, установленных друг на друга. То есть, изготавливается многоярусная конструкция. Каждая секция оснащается своим полом, поддоном и яйцесборником. Материалы и метод изготовления клеточных батарей ничем не отличаются от выше рассмотренных конструкций.
Итак, мы рассмотрели, как сделать клетку для перепелов своими руками из разных материалов. Дело – это не сложное, но требует определенных навыков. В любом случае самодельные домики обойдутся птицеводу дешевле магазинных.
как собрать своими руками на 30, 50 голов
Для содержания перепелов птицеводы рекомендуют сделать или приобрести клетки. Производитель предлагает стандартные размеры 100*70*30 мм. На таком пространстве можно содержаться 100 голов, но не на всех подворьях разводят перепелов в большом количестве.
Загрузка …Для небольшого стада предусматривают конструкции 70*30*20 см. Клетки выстраивают в соответствии с нормами плотности посадки птицы.
Для курочек и петушков изделия будут отличаться по конструкции. Несушек разводят для получения яиц, поэтому необходимо предусмотреть яйцесборник.
Чтобы яйца мягко скатывались в сборник, пол делают под наклоном. Какие размеры клеток для перепелов необходимо предусмотреть при самостоятельной сборке конструкции? Как собрать бескаркасную клетку для несушек?
Какие габариты выбрать?
Для получения перепелиных яиц разводят особей яичной породы. Птицы не отличаются большими размерами. Вес самца 140 г, самок 180 г, средняя длина тела 12 см. Плотность посадки перепёлок составляет 90-100 см2. Для строительства конструкции выбирают следующие габариты:
- для несушек; на 10 голов – 35*27 см; на 30 голов – 95*81 см;
- для самцов на откорме предусматривают большую плотность посадки; 10 голов размещают на площади 25*60 см;
- для особей родительского стада плотность посадки увеличивают; 10 голов располагают в клетке 70*50 см.
Чтобы получать от птицы не только яйца, но и мясо, разводят особей мясо-яичной породы.
Они крупнее несушек. Вес самки 280 г, самца 200 г. Длина тела 15 см. Плотность посадки 150 см2:
- клетка для 10 перепелов на откорме – 50*35 см;
- для несушек – 70*50 см;
- для родительского стада 90*50 см.
Чертежи клетки для перепелов
Бройлеров откармливают на мясо. Яйценоскостью курочки не отличаются. Птицы крупные. Вес самки может достигать 500 г, самца 380 г. Длина тела бройлера 20-25 см. Места они требуют много 250 см2 на голову:
| № | Полезная информация |
|---|---|
| 1 | размеры клетки для особей на откорме на 10 голов – 70*50 см. Для 30 перепелов 150*75 см; в них можно разместить курочек в количестве 50 шт |
| 2 | для несушек – 120*35 см |
| 3 | для особей родительского стада – 150*45 см |
Для получения яиц разводят птицу японской и английской белой породы. Универсальными являются эстонские, маньчжурские, смокинговые перепела.
На мясо разводят «фараонов». Большую массу тела набирают техасские бройлеры, но у птицы снижен иммунитет. Она требует безупречных условий содержания.
Для большого поголовья перепелов, из клеток формируют этажи. В 3 недельном возрасте молодняк рекомендуют распределять на группы по половому признаку. Самок и самцов содержат в отдельных ячейках. Отдельное стадо составляют особи родительского стада.
Количество этажей зависит от желания птицевода и от высоты птичника. Расстояние между клетками для перепелов выдерживают в 10 см. Под напольной сеткой устанавливают лоток для сбора помёта. Оборудование, поилки и кормушки, выносят за пределы внутреннего пространства.
Птицеводы делают клетку для перепелов своими руками. Конструкции могут быть каркасными и бескаркасными. В качестве материала для каркаса выбирают деревянные бруски, металлические уголки из нержавейки или трубы диаметром 20 мм.
Каркас обшивают сеткой с мелкой ячейкой.
Бескаркасные конструкции делают из сетки. Её сгибают по отмеченным участкам. Боковые стенки являются рёбрами жёсткости. Кормушку делают навесную из металлопрофиля.
Недостаток бескаркасных клеток для перепелов состоит в том, что их невозможно установить в этажи. Требуется отдельно собирать каркас, «этажерку».
Как сделать бескаркасную конструкцию?
Бескаркасную конструкцию делают из оцинкованной сетки. Её сгибают на определённых участках. Для того чтобы согнуть сетку, необходимо приготовить тиски. Их делают из 2 реек, которые устанавливают на монтажном столе. Рейки укладывают одну на другую. С двух краёв проделывают в них отверстия.
Вставляют шурупы 51 мм.
По ним можно поднять и опустить верхнюю рейку. Нижнюю доску укрепляют на столешнице держателями. Между тисками устанавливают расстояние в 1-2 см. Этого достаточно, чтобы протащить через отверстие металлическую сетку:
- размеры клетки для перепелов 100*50*30 см. Она предназначается для яичного стада на 50 голов. Бескаркасную клетку для перепелов на 20 голов делают размером 140*50 см;
- лоток для сбора яиц – 100*5*5 см;
- боковые стенки 50*30 см;
- для монтажа понадобится сетка длиной 3 м, шириной 1 м. Оптимальный размер ячейки 10*10 мм. Если ячейки будут большего размера, то перепелам будет неудобно передвигаться. Они могут проваливаться в отверстия, нанося себе травмы. При долгом содержании у птиц развиваются кудрявые пальцы. Если другого материала нет, то ячейки частично закрывают, рекомендуют застелить дополнительно пол пластиковой сеткой с размером ячейки 10*10 мм.
- Протаскивают сетку через тиски. Отмеряют 5 см. Зажимают тиски, загибают сетку на 90.
Получилась передняя стенка лотка для яиц; - далее делают дно лотка. Верхнюю рейку поднимают, отмеряют 5 см на сетке. Зажимают её тисками из реек, опуская верхнюю доску, загибают под прямым углом;
- следующим будет пол клетки. Отмеряют 50 см. Повторяют процесс;
- далее идёт участок задней стенки, 50 см;
- крыша 50 см;
- фронтальная стенка 45 см. По ширине она короче задней стенки;
- оставшийся участок сетки отрезают, используя плоскогубцы.
От сетки отмеряют 2 полотна 30*30*24 см. Одна сторона должна быть больше на 6 см, чем другая. Данные полотна являются боковыми стенками клетки для перепелов. Это позволит укрепить напольное полотно под уклоном.
Он необходим для скатывания яиц в лоток. Устанавливают стенки таким образом, чтобы наклон пола шёл к яйцеприёмнику. Все детали укрепляют проволокой или клипсами из металла. Острые концы закругляют или вовсе отрезают.
На фронтальной стороне проделывают дверцу. Её длина 20 см, высота 30 см, до крыши.
Участок вырезают плоскогубцами. Верхние острые края слегка закругляют; получаются крючки. За них дверцу подвешивают к верхней стороне проёма.
Клетка для перепелов из сетки
Чтобы дверца хорошо держалась на месте, крючки закругляют в петли Полотно может поворачиваться внутрь клетки и наружу. Нижние острые края убирают плоскогубцами.
Между фронтальной стенкой и полом выдерживают расстояние в 5 см, поэтому и полотно будет короче. Свободное пространство необходимо, чтобы перепелиное яйцо беспрепятственно проходило в лоток. Чтобы полотно не опускалось, устанавливают рёбра жёсткости. Их делают из проволоки. Шаг крепления 20 см.
Из пластиковой сетки вырезают участок шириной 1 м, длиной 60 см. Полотно укладывают внутрь клетки. Его достаточно, чтобы застелить пол, яйцеприёмник и стенку лотка. Пластик предотвратит бой яйца.
Полотно рекомендуют мыть 1 раз в сутки. Для этого его вынимают из сетки, обрабатывают мыльным раствором, высушивают и вновь располагают в клетке.
Бескаркасную сетку можно установить на стойку, под которой располагают лоток. Некоторые умельцы продумывают клеточную конструкцию с двойным полом. В промежуток между напольными панелями устанавливают поддон для помёта.
Кормушку укрепляют на противоположной стороне от яйцеприёмника или на боковых стенках. Если для конструкции использовалась сетка 5*2,5 см, то для птиц необходимо проделать окошки, чтобы открыть им доступ к корму.
В летний период бескаркасную конструкцию с перепёлками выносят на растительную площадку. Пластиковое полотно убирают. Птицам открывается доступ к зелёной траве. Необходимо выбирать затененное место, чтобы пернатые не перегрелись.
Площадку тщательно проверяют, чтобы на ней не было полыни и тысячелистника. Данные травы оказывают на птицу наркотическое воздействие. Чистотел, болиголов, василёк являются ядовитыми. Клетку устанавливают на площадке с клевером, люцерной, подорожником, одуванчиками.
Кормушки можно устанавливать по боковым стенкам.
Кормят птицу 2-4 раза в день. Чтобы кормушки были постоянно полными, устанавливают бункерные конструкции.
Поильник располагают поверх кормушек. Рекомендуют использовать ниппельные конструкции с каплеуловителями. Вода не попадёт в лоток с зерновой смесью, и птицы останутся с сухим оперением. В день взрослая перепёлка выпивает до 60 г воды.
Опытные птицеводы самостоятельно мастерят клетки для перепелов. Их размер должен соответствовать не только количеству голов в стаде, но и породе птицы. Конструкции собирают из безопасного материала. Перед расселением поголовья, все панели необходимо продезинфицировать.
YouTube responded with an error: API key expired. Please renew the API key.
Клетки для перепелов: размеры перепелиных на 50 голов — высота, сетка, яйца
Сегодня все чаще и чаще люди стали выращивать на своем подворье различные виды птиц, одними из которых являются перепелки. Но для получения гарантированной прибыли необходимо придерживаться некоторых правил содержания.
Во-первых, стоит позаботиться про комфортное проживание птиц, а это невозможно без клетки.
Кроме этого, стоит позаботиться про необходимый температурный режим. В помещении, где будут содержаться перепелы должна присутствовать температура выше 20-24 градусов. Также на интенсивный рост перепелов влияет такой фактор, как освещенность. Длительность светового дня составит 17-18 часов.
Необходимые параметры для изготовления клетки
Содержать перепелов можно в клетках, которые фермер могут купить в готовом виде и просто их собрать, или же, используя подручные материалы, соорудить ее своими руками. Если вы решили воспользоваться вторым вариантом, то необходимо сразу обозначить, что процесс изготовления такой конструкции осуществляется по стандартно схеме.
Инструкцию “Кролиководство для начинающих” найдете тут.
В этом случае необходимо придерживаться следующих габаритов:
- высота задней части будет составлять 18 см;
- высота передней части составляет 20 см;
- для обустройства нижней части стоит использовать ячейку сетки 12х12 мм, а диаметр проволоки 0,9-2 мм;
- угол наклона сборника для яиц должен составлять 10 градусов;
- сборник для яиц должен быть оснащен боковыми бортиками, которые выступают на 10 см.

Как сделать клетку для перепел описано здесь.
Сборка перепелиной клетки собственноручно – чертеж
Если вы решили приобрести уже готовый вариант, то вам необходимо затратить на это 2 часа. Главная заготовка имеет такие габариты: 105х70 см. Из ее отходов вы получите боковые стенки, размеры которых 30х30 см.
Размеры клеток для бройлеров указаны по ссылке.
После этого главная заготовка сгибается при соблюдении следующих размеров:
- высота передней части 16 см;
- высота задней части 14 см;
- ширина стенки, расположенной сбоку, достигает 30 см;
- оставшийся материал заготовки можно задействовать для обозначения сборника для яиц.
Для закрепления боковых стенок необходимо воспользоваться хомутами из пластика. После этого нужно загибать концы яйцесборника, учитывая тот факт, что его высота должна составлять не менее 3 см.
Для пола клетки пойдет ячеистая сетка. Ее размеры должны быть чем, чем у основной заготовки.
Чтобы пол принял максимальную устойчивость, на основании клетки должен быть укреплен металлическими заготовками. Самым отличным вариантом считается оцинкованное железо. Дверца вырезают сверху. Для большего комфорта это может быть ширина по всей верхней поверхности.
Рекомендуем вам прочитать о том, как сделать клетку для бройлеров в данном материале.
Чтобы на сгибах сетки получились прямые углы, а не закругленные, необходимо во время загиба применять две обрезные доски, толщина которых оставляет 5 см. Для их соединения использовать две петли. Сетка для клеток птиц просовывается в щели, которые сформировались между досками. В этом случае нужно отмерить требуемый размер изгиба и доски, а затем сложить два полученных значения.
Для опоры клетки служит не только дно, то и торцевые стенки конструкции. Здесь стоит предусмотреть пространство, которое потребуется для того, чтобы вставить лоток для помета. Для его изготовления используется ДВП, фанера или деревянная рейка.
Как происходит выращивание кур бройлеров на мясо описано в этой статье.
После того, как клетка была собрана, необходимо произвести ряд мероприятий, перед тем, как перепелы будут там обживаться. Для этого обязательно произвести обработку дезинфицирующими составами. Они позволяют устранить неприятный запах селитры, возникающий от перепелиного помета.
Размеры и площадь для деревянной конструкции своими руками
Такой вариант конструкции применяют крайне редко. Большинство фермеров все же отдают предпочтению проволочным самодельным клеткам. В роли основного материала выступает фанера. Процесс изготовления дна аналогичен предыдущему варианту.
Фанерная клетка для перепелов имеет такие размеры:
- высота задней части составляет 18 см;
- высота передней части составляет 20смв;
- угол наклона пола – 10°.
Для нормального проживания одной взрослой птички понадобиться 1,5 дм3 площади всей конструкции.
Породы кур несушек перечислены по предложенной ссылке.
Размеры в зависимости от количества перепелок
Кроме этого, размеры клеток для перепелов варьируются в зависимости от того, какое количество голов буде то там проживать:
- 10 голов – размеры по полу 350 х 275 мм;
- 20 — размеры по полу 500 х 350 мм;
- 30 – размеры по полу 650 х 475 см;
- 40 – конструкция состоит их двух отделений, каждое из которых подходит для разведения 20 птиц;
- 50 – размеры по полу 1050х825 мм;
- 1000 – клетка состоит из 4 отделений, в каждом из которых содержится 20 голов.
Читайте также о том, чем кормить перепелок.
Как изготавливать – расчет основных оптимальных размеров
Для рационально использования всего пространства помещения для содержания и клеток необходимо придерживаться определенных размеров.
Оптимальной высотой клетки считается 250 мм, благодаря чему установка конструкции может быть выполнена в 4 или 5 ярусов. Здесь все зависит от высоты помещения. Принимая во внимание нижний ярус, который находится на уровне в 300 мм от пола.
Содержание птиц может происходить в цельнометаллических, деревянных и комбинированных клетках, для которых характерны различные конструкции и размеры.
Для блока из 5 ярусов необходимо придерживаться высоты 1600 мм. Таким образом, уход за птицами будет выполняться комфортно. В рассматриваемом варианте на 1 м2 конструкции можно будет содержать 60 птиц. Если придерживаться 5-ти ярусной конструкции, то количество перепелов увеличится до 300 штук.
Возможно, вас также заинтересует информация о разведении и кормлении в домашних условиях.
Благодаря полученным данным удается правильно произвести все расчетные мероприятия и переходить к непосредственному разведению перепелов. Если размеры помещения небольшие, то установка ярусов может быть произведена вдоль стен или же аналогично стеллажами в библиотеке. В данном случае клетки задней свой частью будут располагаться вплотную друг к другу. Между рядами должно быть соблюдено расстояние не меньше 80 мм.
Кроме точного соблюдения размеров, клетки для перепелов должны соответствовать всем экологическим особенностям.
Чем кормить, чтобы хорошо неслись, поможет понять данная информация.
Видео
Данное видео расскажет о том, как сделать клетку для перепелов своими руками.
Содержась перепелов – дело нетрудоемкое. Определенные сложности могут возникнуть только при возведении клеток, особенно, если вы выбрали вариант самостоятельного изготовления. Для того чтобы конструкция была максимально удобной для птиц и хозяина в плане ухода за животными, необходимо четко придерживаться размеров, клетки, которые рассчитываются с учетом размеров помещения. Рекомендуем также ознакомиться с описанием маньчжурской породы.
Клетки для перепелов: чертежи фото
Как самостоятельно сделать клетку для перепелов, чертежи, фото, видео.
Для содержания перепелов в условиях домашней мини фермы применяются многосекционные клетки, это наиболее практичный вариант клеток рекомендуемый для выращивания этой птицы.
В этой статье мы рассмотрим несколько вариантов изготовления клеток для содержания перепелов.
Основные требования к клеткам для перепелов.
Прежде всего, клетки для перепелов должны соответствовать требованиям:
- Отсутствие сырости в клетке.
- Отсутствие сквозняков.
- Нормальная вентиляция.
- Яркое освещение недопустимо при содержании перепелов.
- Размер ячеек сетки должен соответствовать возрасту птицы.
Типы клеток для перепелов.
Для содержания перепелов применяются несколько типов клеток:
Для птенцов до 2 недельного возраста используются ящики.
Птенцов содержат в деревянных или картонных ящиках с обогревателем, в качестве обогревателя можно использовать маломощную лампу 40 – 60 Вт.
Молодняк практичней содержать большими группами в просторных клетках.
Для пищевого яйца, а также откорма на мясо также используют большие групповые клетки.
Для родительского стада используются многосекционные клетки, в каждой секции по самцу и 2 – 3 самки.
Клетка для перепелов из сетки.
Для изготовления клеток понадобится оцинкованная сварная сетка, она обычно продаётся в строительных супермаркетах. На пол клетки понадобится сетка с более мелкой ячейкой 15 х 15 мм, для стенок можно использовать сетку с ячейкой чуть больше.
Оптимальный размер каркаса клетки – 700 х 350 х 200 мм.
Каркас можно изготовить из уголка 25 х 25 мм или из деревянных брусков 50 х 25 мм.
Сборка каркаса. Деревянный каркас собирается из брусков с помощью саморезов, если каркас из уголка, то можно соединить уголки болтами или сваркой.
Сетку разрезаем ножницами по металлу по размеру стенок клетки. Крепим сетку к деревянному каркасу с внешней стороны саморезами с широкой шляпкой. К металлическому каркасу сетка крепится скобами или проволокой.
Крепим пол. Сетка пола должна быть под уклоном 7 — 10 С°, к передней части клетки, в конце уклона необходимо сделать яйце сборник, отогнуть вверх сетку пола на 30 – 40 мм.
Дверцу также можно изготовить из куска сетки, размещать дверцу лучше посередине, чтобы было удобно доставать птиц из клетки.
Крепится дверца с помощью двух металлических полосок.
Устанавливаются кормушки и поилки.
Для сбора помёта под сеткой пола нужно установить металлический или пластиковый поддон.
Многосекционные клетки.
Изготовление многоярусной клетки для перепелов видео.
Клетки для перепелов из фанеры.
Клетки для перепелов можно изготовить из фанеры или ДВП.
Вырезаем из фанеры боковые стенки – 350 х 200 мм.
Верхнюю часть клетки – 700 х 350 мм.
Заднюю стенку – 700 х 200 мм.
Из брусков делаем и крепим фанеру на саморезы.
Пол клетки изготовляется из металлической сетки 15 х 15 мм.
На переднюю часть клетки крепится металлическая сетка и дверца.
Многосекционные клетки для перепелов.
Как сделать клетку для перепелов видео.
Клетки для Перепелов Своими Руками Размеры Уход (3 Вида)
Приусадебное хозяйство /26-июл,2018,17;15 / 6228Эта статья будет очень полезной для тех, кто хочет выращивать перепелов, но не знает о том, в каких условиях их нужно содержать.
Здесь можно прочитать, а также просмотреть в видео, как всего за 45 минут можно сделать идеальную клетку для перепелов в домашних условиях – самое подходящее жилье для разведения этой птицы. В таких условиях, которые вы создадите своими руками, перепела будут набирать вес быстрее нормы, и в то же время радовать высокой производительностью яиц.Вы сможете увидеть, как самостоятельно делаются универсальные клетки для перепелов, которые подходят для разведения этих пернатых как на даче, так и в квартире. По словам птицеводов, наиболее оптимальной плотностью для посадки перепелов в клетке является та, при которой одной птице выделяется 150 см кв., когда содержится родительское стадо, и 120 см кв., в случае, если вы разводите перепелов, главным образом для того, чтобы получать яйца и мясо. Из таблицы, представленной ниже, вы можете взять расчеты для будущих чертежей птичьих домиков, которые рассчитаны на посадку 10, 30, 50 голов перепелов.
Размеры клетки, которая рассчитана на голов птицы: 10 шт.
30 шт. 50 шт.
перепела родительского стада 30х75 см 45х150 см 75х150 см
перепела для яиц и мяса 25х60 см 35х120 см 60х120 см
Если рассматривать содержание птиц с целью получения натуральной продукции – яиц и мяса, то следует делать низкие клетки, порядка 18–20 см. За счет небольшого пространства пернатые будут малоподвижными, что позволит перепелам быстро прибавлять в весе. В то же время благодаря малой подвижности половое созревание птицы будет наступать позже обычного, что позитивно повлияет на качество мяса.
Универсальная клетка – чертеж:
1 – каркас клетки; 2 – поилка; 3 – дверца; 4 – лоток на корм; 5 – сборник для яиц; 6 – пол; 7 – поддон для помета.
Может случится так, что из-за небольшой площади помещения будет проблематично смастерить клетку большого размера для перепелов. В этом случае рекомендуется соорудить несколько небольших птичьих домиков, и затем поставить их один на другой.
Это должны быть клетки с одинаковой конструкцией, формой и размером. Для надежности их следует скрепить с помощью проволоки. Как видно из чертежа, будет достаточно 3–4 яруса, при этом жилье для птиц будет гарантированно неподвижным. Нужно помнить, что первая клетка должна располагаться над полом на высоте не меньше 10–30 см.
Изготовление деревянной клетки
Самодельная клетка для перепелов из дерева или фанеры обладает двумя главными преимуществами – дешевизной рабочих материалов и легкостью ухода за такой клеткой. Если вы планируете строить многосекционное жилье для птицы, тогда есть резон делать приблизительные чертежи. В случае с общим отсеком в чертежах нет надобности.
Что нужно подготовить для сооружения птичьих домиков
Перечень необходимого инструмента и материала:
• дерево, или фанера, или ДВП;
• уголки из дерева;
• сетка с ячейками размером минимум 16х24 мм;
• пила;
• стамеска;
• саморезы;
• нож по металлу;
• гвозди или мебельный степлер.

Пошаговое описание работ по изготовлению клеток для перепелов своими руками
1. Берем пилу и вырезаем из дерева заднюю, верхнюю и боковую стенку. Чтобы определить размеры стенок, предварительно делаем расчет посадки необходимого числа перепелов.
2.Далее берем стамеску и в боковых стенках проделываем небольшие отверстия диаметром примерно 30 см. Благодаря им в птичье жилище будет поступать свет. Можем выполнить по несколько отверстий в стенках, диаметром по 10 мм.
3. Обрабатываем деревянные стенки антисептиком и после этого покрываем лаком.
4. Берем ножовку по металлу, и вырезаем из сетки фрагмент для нижней части клетки – пола/яйцесборника, и передней стенки. Нужно учитывать, что передняя сетка должна быть с ячейками такого размера, при котором перепел мог бы просунуть голову. В то же время нужно сделать так, чтобы в определенной части пол выступал за стены клетки – чтобы было удобно собирать яйца.
5. Для соединения всех деревянных деталей между собой используем саморезы или гвозди.
Если у нас элементы из фанеры, можно скрепить мебельным степлером.6. Для закрепления деталей из сетки на деревянных частях применяем саморезы. Сетчатый пол крепим между деревянными стенками на расстоянии порядка 5–8 см от пола. В этом месте позже будет расположен лоток для помета. Пол размещаем под наклоном 10° – это оптимальный наклон для того, чтобы яйца скатывались к передней части клетки, и чтобы птица не чувствовала неудобств.
7. В конце на передней стенке при помощи проволоки крепим кормушку и поилку. Они должны располагаться не выше, чем грудь птицы – так перепелам будет удобнее ими пользоваться.
Размеры клетки для перепелов
Каркас клетки из деревянных брусков.
К деревянному каркасу сетка крепится шурупами с большими шляпками.
Вид клетки с торца.
Многоэтажная клетка из дерева.
все размеры и чертежи, пошаговая инструкция
Для разведения перепелов требуется соблюдение базовых условий их содержания.
Чтобы изготовить клетки для перепелов своими руками, потребуется знать все размеры и подготовить необходимые чертежи. Только четкое понимание процесса поможет сделать удобные клетки для птиц. В этой статье изложена вся необходимая информация, требующаяся для сборки.
Требования для клеток
птицы могут нормально функционировать.Их нужно при выращивании перепелок в клетках дома:
- Емкость должна быть достаточно крепкой, способной выдерживать постоянные нагрузки.
- Если клетка изготавливается из сетки, то нужно подбирать материал с подходящими размерами ячеек. Птицы должны беспрепятственно просовывать через них голову за кормом или водой. Однако нужен баланс, чтобы перепелкам было удобно передвигаться. Если соблюсти такой баланс не удается, то боковые стенки, где размещены поилки и кормушки, изготавливаются из более крупной сетки.
- Оптимальной площадью для каждой считается 0,02 кв. м. или 200 кв. см. Допустимо снижение площади до 150 кв.
см. без нарушения для здоровья птиц. - В помещении, где будут содержаться птицы, не должны попадать домашние или дикие хищники. В случае популяция перепелов последний под большой угрозой.
- В дикой природе перепелки предпочитают густые заросли. Выращивая птиц дома, нужно обеспечить им аналогичные условия по освещению — небольшой полумрак.
- Клетка должна быть сухой. Во влажной среде развиваются болезнетворные организмы, которые наносят вред птицам.
- Помещение, в котором будут разводиться птицы, должно хорошо проветриваться. Но появление сквозняков недопустимо. От них гибнут даже взрослые особи.
Необходимо обеспечить стадию развития птиц и цели их выращивания. По таким параметрам клетки делятся на:
- Брудеры для выращивания птенцов до 10 дней.
- Клетки для молодых особей до 1.5 месяцев.
- Емкости для взрослых перепелов.
- Клетки для перепелок для получения яиц.
- Контейнеры для размножения птиц.

- Для заготовки птиц на мясо.
Читайте также: Брудер для цыплят своими руками
[stextbox id = ’alert’] Обратите внимание! Каждый из типов таких клеток имеет свои особенности конструкции. Например, для заготовки яиц будет не лишним снабдить клетку лотком-яйцесборником, емкости для птенцов нужно оборудовать дополнительным обогревом.[/ stextbox]
В зависимости от того, какие цели выращивания перепелок преследуются, каждая емкость должна быть оборудована поилкой и кормушкой. К ним должен быть свободный доступ у каждой птицы.
Понимание этих простых принципов поможет в выборе места, размера емкости и условий для развития птиц. Рассмотрим основные виды клеток для перепелок
Изготовление клеток для перепелов
Любая клетка представляет собой ящик нужных размеров.Поэтому его можно изготовить из любых подручных материалов. Главное, выполнение основных требований по содержанию птиц и сделать им комфортные условия.
Ниже мы рассмотрим несколько доступных и часто используемых видов клеток для разведения перепелов. Вы можете использовать уже готовые решения, либо придумать нечто свое, предоставленную информацию.
Клетка из фанеры
Дерево является не самым лучшим инструментом для изготовления емкостей для птиц.Оно подвержено гниению и быстро приходит в негодность в условиях повышенной влажности. Но материалы деревянные имеют и собственные преимущества:
- Легкость в сборке. При наличии необходимых инструментов, собрать конструкцию воедино можно за несколько минут.
- Простота обработки. Благодаря податливости материала, можно изготавливать детали любого размера и формы.
- Экологическая безопасность. Дерево не содержит вредных веществ.А значит, не сможет нанести вред птицам.
К тому же, можно использовать в хозяйстве части старых деревянных приспособлений. Например, мебели и предметов домашнего обихода. Это позволит собрать клетку для перепелов практически без сторонних вложений.
Для изготовления потребуются следующие материалы:
- Лист фанеры.
- Сетка для лотка и передней двери.
- Крепежные материалы.
Читайте также: Как сделать поилку для кур
Чтобы получился результат, потребуются изготовить чертеж.Вы можете использовать готовым решением, изложенным ниже, либо преобразовать его под собственные нужды. Так, например, если вы планируете использовать его для большего или меньшего количества птиц, то размеры деталей необходимо скорректировать.
На схеме указаны следующие обозначения:
- Каркас.
- Поилка.
- Решетчатая дверь.
- Кормушка.
- Стопор лотка.
- Лоток для скатывания яиц. Он также играет роль решетчатого пола в клетке.
- Поддон для отходов.
Возможны два способа соединения деталей — креплением каркас или соединением между собой брусками. Если выбран второй способ, то потребуются также соединительные бруски на каждый угол конструкции.
Также увеличивается высота боковых стен и задней панели, так как они будут одновременно играть роль ножек. На нашем чертеже использован каркасный способ крепления. Однако вы можете воспользоваться любым.
Пошаговая инструкция по сборке клетки для перепелов из фанеры будет следующая:
[stextbox id = ’alert’] Важно! Чтобы обладатели такие клетки и птицы не нанесли себе опасные травмы, все острые углы необходимо сточить.Особое внимание следует уделить сетке, где на месте среза образуются острые углы. [/ Stextbox]
При изготовлении клетки дляелов своими руками по чужим чертежам, необходимо требование по площади, уменьшая или увеличивая все размеры пропорционально. Исключение составляет лишь высота конструкции.
Вариантов подобных клеток — множество.
И их можно адаптировать под свое количество птиц. На фото ниже изображена емкость, изготовленная полностью из фанеры, включая переднюю панель.При таком варианте соблюдается природная затененность, которую любят перепелки. Дверь установлена по створчатой системе и является одновременно потолком.
Большое внимание следует уделить поилкам и кормушкам. Для поилок рекомендуется использовать ниппельную систему. Она не позволяет воде застаиваться и в нее не попадают сторонние предметы, помет и пыль.
Особенность перепелок — искать лучшую еду, стать проблемой при их разведении дома. Уже через несколько часов после засыпания корма, он частично выполнен разбросанным по полу.Чтобы избежать этого, корм накрывается тонкой сеткой из оцинкованного железа. Это не мешает птицам его клевать, но предотвратит разбрасывание.
Читайте также: Как сделать кормушки для кур своими руками
Клетка из сетки
В последнее время птицеводы предпочитают использовать в домашнем хозяйстве клетки из металлической сетки.
Такая конструкция обеспечивает высокую прочность при минимальном весе. Это позволяет делать многоэтажные конструкции, выращивание на одинаковой площади большее поголовье пернатых.
Для изготовления основной части клетки потребуется сетка. На предложенном выше чертеже указаны все размеры. Размечаем сетку и сгибаем ее по линиим. Если все было соблюдено в точности, то основа будет практически готовой. Вам останется только установить боковые части и закрепить их. Сделать это можно крепкой проволокой.
Далее устанавливаем на переднюю стенку кормушку и поилку. Если высота клетки и размеры приспособлений не позволяют сделать это на одной стороне, то их разводят по противоположным участкам.
При необходимости удалить несколько секций в сетке, чтобы перепелки свободно просунуть голову к кормушке и поилке.
Под низ ставится поддон из листа оцинкованного железа, фанеры или пластика для сбора отходов жизнедеятельности. Детально изучить процесс сборки клеток из металлической сетки поможет это видео:
Если вы желаете сделать многоярусную конструкцию, то следует задуматься о каркасе. Его можно изготовить из профиля из металла.Его легко собирать, он очень прочный и способный выдерживать нагрузку.
Читайте также: Как сделать поилку для цыплят своими руками
Сборка клетки не будет отличаться от предыдущего варианта. Единственное исключение — сетка тоже крепится к каркасу из профиля. Более подробно показано на схеме ниже.
[stextbox id = ’alert’] Важно! Решив разводить птиц в домашних условиях, следует четко рассчитать свои силы. Не стоит сразу брать большое количество перепелок.Особенно, если вы не имеете навыка разведения и ухода за ними. Также не стоит собирать в одном помещении более 50 голов птиц. В таких условиях их яйценоскость сильно падает, и проблемы появляются со здоровьем.
[/ Stextbox]
Клетка из ящиков для овощей
Чтобы сделать такую конструкцию, не нужно проводить сложные расчеты, иметь в наличии дорогостоящие инструменты и проводить не самые простые работы. Объем ящиков идеально подходит для выращивания перепелов.
Чтобы сделать простейшую емкость для перепелок из пластиковой тары, потребуется один высокий овощной ящик и два низких.По ширине и глубине они должны быть идентичными.
Процесс сборки будет следующим образом:
- Острые углы по краям ящиков обрезаются.
- На первый низкий ящик ставим высокий дном вниз. Нижняя часть будет служить поддоном для сбора помета. Поэтому удаляем боковую часть нижнего ящика.
- Вторым низкий ящиком закрытая тару. Соединяем между собой части конструкции металлической проволокой или пластиковыми хомутами.
- В верхней части тары нужно вырезать дверцу, чтобы иметь возможность закладывать и вынимать птиц.
- На боковые части центральной секции крепятся поилка и кормушка.
Так как сетка мелкая, потребуется вырезать несколько кусков, чтобы они могли пролезть птичьи головы. - В нижнюю часть ставим поддон из нержавейки, фанеры или пластика. Рекомендуем стелить на него газету и регулярно ее менять. Это грубая упростит процесс чистки поддона.
[stextbox id = ’alert’] Обратите внимание! Как видно по фото, конструкция имеет ряд недостатков.Например, нельзя установить лоток для сбора яиц. Она подходит для временного содержания птиц. Если вы планируете серьезно заняться разведением перепелок, рекомендуем использовать сеточные или фанерные модификации. [/ Stextbox]
Зная все размеры и подготовив заранее чертежи, можно легко собрать клетки для перепелов своими руками. При наличии комфортных условий для птиц, они быстро размножаются и обеспечивают высокую яйценоскость.
Если же вы планируете разводить пернатое поголовье на мясо, то нужно немного ограничить им свободное пространство.В замкнутом помещении они мало передвигаются и быстро набирают вес. Учитывайте эти особенности, при определении параметров клеток.
Клетки для перепелов — как сделать своими руками, размеры на 10 и 50 голов
Перепела — популярная одомашненная сельскохозяйственная птица, которую начали выращивать десятки лет назад. Имеют большую стоимость и нежный вкус. Большинство разновидностей перепелов являются достаточно мелкими, требуют условий содержания и качественного питания.Далее вы узнаете о том, какими должны быть клетки для этих птиц, как их делают самостоятельно. Также будут рассмотрены основные материалы, применяемые для выполнения работ, и чертежи.
Требования к клеткам
От условий зависит здоровье и рост птиц, поэтому им нужно уделять особое внимание.
Выбор нужной по возрастам
Самое простое решение вопроса с перепелованием — покупка готовой клетки в специализированном магазине.
Главное правильно подобрать модель по возрасту, поэтому заранее определитесь, будете брать 10-тидневных птенцов, молодняк или взрослых особей. В принципе, брать маленькие клетки, чтобы заменить их на большие, нет смысла, поэтому специалисты рекомендуют сразу стандартные конструкции для родительского стада. Примерные размеры приведены в таблице.| Размеры клетки | 10 голов | 30 голов | 50 голов |
| для родительского стада | 30 * 75 см | 45 * 150 см | 75 * 150 см |
| для перепелов на откорме | 25 * 60 см | 35 * 120 см | 60 * 120 см |
Рассмотрим разницу между покупными и самодельными.Самодельные стоят недорого, изготавливаются из подручных материалов и позволяют экономить деньги.
Покупные — вариант практичный, но их еще нужно будет доставить на ферму. Также готовые модели не всегда соответствуют требованиям, предъявляемым к конкретному поголовью.
Где ссылка
Успех выращивания перепелов во многом зависит от требований к размещению птиц. Идеальное место для установки клеток — отдельно стоящий капитальный (а не сарайный) курятник. Чем уютнее и теплее будет птицам, тем выше шансы построить прибыльный успешный бизнес.Оптимальные температурные показатели — 20-25 градусов, начинают плохо себя чувствовать, становятся вялыми или беспокойными, начинают хуже нестись. Также узнайте почему несутся куры в этой статье.
Освещение внутри домика слишком резким делать не следует.
в регионе вашего проживания световые дни короткие, нужно сделать подсветку до 18 часов в сутки.
Также в помещениях должно быть достаточно сухо — размещайте клетки подальше от водоемов, лучше всего на возвышенности.
Нормы по площадям
Норма по площади клеток для перепелов — 18 дм2 на 10 голов, если выращивается родительское стадо, и 15дм2 на 10 голов, если птицы выращиваются для получения яиц / на забой.
Про пользу перепелиных яиц читайте тут.
Не превышайте нормативы, иначе особям будет не комфортно, и бизнес будет под угрозой.
Дополнительные установки
Выше мы рассмотрели все требования, предъявляемые к клеткам для перепелов.Также есть нормы практичности, жесткости, показатели качества материалов и материалов конструкций, используемых для выращивания птиц. Чтобы перепелам было комфортно, обязательно оборудуйте клетки гнездами, поилками, автокормушками для кур. Все эти элементы можно делать самостоятельно покупать в готовом виде.Строим сами
Если вы твердо решили делать домики для перепелов своими руками, вам будет полезна изложенная далее информация. Все материалы доступны и находятся в свободной продаже.
Из фанеры
Самый распространенный вариант — фанерная клетка на 20 голов. Во-первых, данный материал является недорогим, простым в работе, экологичным. Во-вторых, с 20 головами начинающему птицеводу справиться всего проще.
Про содержание перепелов в домашних условиях читайте здесь.
Чертежи
Предлагаем вашему вниманию стандартный чертеж из фанеры. Размеры могут изменяться с учетом предпочтений фермера, количества заселяемых особей. Слишком тесными или наоборот просторными клетки быть не должны — придерживаться принципа золотой середины.
Схема: Клетка для перепелов.
Обязательно обработайте брус антисептиком до начала выполнения работ.
Пошаговая постройка
Действия поэтапно:
- Делайте заготовки — по 4 детали на 60 и 70 см, 4 стойки на 90 см. Из заготовок соберите каркас.
- Обтяните каркас сеткой, вырежьте из нее ниши, сформируйте напольное и потолочное пространство. Крепить сетку можно гвоздями, саморезами, скрепками, главное, чтобы она хорошо держалась.
- Смонтируйте под небольшим сетчатым полем (яйца должны свободно скатываться в яйцесборник). Ячейки сетки должны быть достаточно крупными и пропускать помет.

- Соорудите сетчатый яйцесборник и его как продолжение пола.
- Сделайте откидную крышку, посадите ее петлями на каркас.
- Закрепите поддон для сбора испражнений.
Из пластиковых ящиков
Самодельный эконом-вариант клетки. Ящики можно использовать любые, в том числе из-под овощей, рассады фруктов.В результате несколько решетчатых ящиков соединяются в клетку. Про комбикорм для перепелов читайте в этом материале.
Чертежи
С пластиковыми ящиками работать очень просто — посмотрите чертежи и вы убедитесь в этом сами. Обратите внимание, что ящик может быть один (простая конструкция) или несколько (многосекционный вариант). Пластиковые клетки легкие, прочные и не предоставляют сложностей в уходе.
Пошаговая постройка
Инструкция по сборке клетки пошагово:
- Берите 3 ящика (стандартный вариант) — один большой и два поменьше.Вверху каждого отрежьте выступающие уголки.
- Соберите каркас, большой ящик нижней части крепления в любой маленький и накройте его вторым сверху.
Все прочно скрепите проволок из металла. - Сделайте крышу — на дне самого верхнего ящика нужен разрез по трем сторонам их четырех.
- Установите поилки с кормушками — в пластиковых клетках их цепляют снаружи.
Этот вариант подходит на 20 голов перепелов. Для большего стада потребуются дополнительные ящики.
Клетки-батареи
Батарея — большой вариант для небольшого поголовья, северных регионов (фанера хорошо защищает от ох, сквозняков и намного теплее сети).
Чертежи
Клетка-батарея собирается как коробка или каркасным способом. В первом случае скелета у постройки не будет — листы фанеры крепятся на стыках друг к другу специальными деталями. Обязательно запаситесь набором инструментов и деревянными уголками.
Клетка-батарея для перепелов.
Пошаговая постройка
Последовательность выполнения работ:
- Вырежьте из листов фанеры все детали — одна 70 * 35 см, две 35 * 20 см, одна 70 * 20 см.
Металлическую сетку для стен можно брать больше, чем для пола. В боковых деталях сразу просверлите отверстия для вентиляции, установки приборов освещения. - Продезинфицируйте все детали работы антисептиками, покройте лаком.
- Соберите боковые стенки с применением уголков. Дополнительно можно склеить листы в проемах.
- Закрепите переднюю стенку и пол.
Это, собственно, и все — останется сделать дверцу, крючки, навесы. Дверь лучше всего делать из сетки.
Бескаркасные (сеточные)
Каркасные клетки считаются самыми надежными, но многим фермерам нравятся и сеточные варианты без каркасов.
Чертежи
Чертежи сетчатых клеток для перепелов используются те же, что для сооружения деревянных конструкций. Сетки нужны с разными размерами ячеек, также вам потребуются подпорки, аппарат для сварки, проволока.
Чертеж бескаркасной клетки для перепелов.
Пошаговая постройка
Руководство:
- Вырежьте из сетки два полотна 70 * 60 см, два 60 * 45 см и два 70 * 45 см.

- Соберите основу и сварите элементы.
- Смонтируйте пол с яйцесборником (пол установить под небольшим углом).
- Армируйте клетку для придания ей дополнительной жесткости.
- Установите подпорки с поддоном.
Особенности клеток
Клетки для перепелов ряд возможностей в зависимости от того, для птиц какого возраста они предназначены.
Перепелята
Перепелят содержат в брудерах — маленьких теплых домиках, которые заменяют им наседку. Брудеры применяются в выращивании разных видов домашней птицы. Стенки делаются из плотного материала (чаще всего это фанера), должен быть решетчатый. Главные условия нормального выращивания перепелят — тепло, большое количество света, отсутствие сквозняков. Температуру с 37 до 25 градусов понимают постепенно в течение месяца. Для освещения желательно использовать инфракрасные лампы для курятника.
Для несушек
Несушкам нужны чистота, гнезда и яйцесборники.
Продумайте конструкцию таким образом, чтобы яйца самостоятельно скатывались в предназначенные для этого емкости.
Инстинкт насиживания у перепелов разный, поскольку он зависит от направления, но гнезда нужно делать обязательно. Напольное покрытие должно быть цельным. Когда начинают нестись перепела расскажет эта ссылка.
Бройлерные перепела
К бройлерным относят перепелов в возрасте старше одного месяца.Стенки их клеток делятся сетчатыми или решетчатыми, клетки пола достаточно крупными, поскольку птицы выросли и не проваливаются в них.
Бройлерам брудер не требуется, поскольку защитные силы организма у них итак высокие.
Оптимальные материалы для изготовления домиков — дерево или металл, каркас нужен. Набирать низкие клетки, в которых вы готовите птиц к забою, набирайте низкие клетки.
Какая конструкция подойдет для квартиры
Для квартиры подойдет любая конструкция на 10-20 голов — клетку установить неудобно.
Опытные птицеводы рекомендуют для квартирного выращивания птиц бескаркасные блоки и батареи, но можно делать и деревянные ящики, блоки из пластиковых контейнеров. Главное, птицам было достаточно места, оказалось сухим и хорошо освещаемым, ничто не затрудняло уход за молодняком и взрослыми особями.
Продумайте вентиляцию — она нужна самим птицам для поддержания здоровья и вам лично, чтобы избежать появления неприятных слишком резких запахов.
Перепелов можно содержать в том числе в квартире.Для этих целей можно использовать все виды самодельных клеток.
Видео
Видео про построение клетки для перепелов своими руками.
Выводы
- Клетки для кур и перепелов можно покупать готовые или делать своими руками.

- Типы содержания птиц — на фермерских хозяйств и в квартирах.
- Основные варианты самодельных клеток — батареи, без каркаса, из пластиковых ящиков, деревянные.
- Размеры клетки зависят от числа голов.
Клетки для перепелов своими руками: как сделать правильно
Содержание:
Клетки для перепелов, сделанные своими руками, играют большую роль в разведении этих птиц. Кажется, что намного проще купить это приспособление в зоомагазине, но это не так. Несмотря на свои миниатюрные размеры, перепел очень любит простор, чего не всегда могут обеспечить покупные изделия. Именно поэтому многие заводчики перепеловают использовать самодельные клетки.В изготовлении такого домика для птиц нет ничего сложного, необходимы лишь чертежи, набор инструментов и минимальные навыки обращения с ними.
Основные требования к сооружению
Домики для разведения перепелов бывают трёх видов. Классифицируют их по материалу из которого они изготовлены.
Итак, наибольшее распространение приобрели клетки из:
- фанеры;
- пластика;
- металлической сетки.
Если вы только задумываетесь о разведении перепелов и у вас имеется пара птичек, то можно воспользоваться клеткой для домашних грызунов.Или можно купить в зоомагазине любую клетку для птиц. Но в ближайшее время придётся задуматься о переселении пернатых в более просторный дом.
Если сделать такой домик своими руками, можно не только сэкономить внушительную сумму, но и создать для птиц идеальные условия. Как показывает практика, эти крохи очень требовательны к условиям содержания.
К клеткам, предназначенным для разведения перепелов, предъявляются следующие требования:
- полное отсутствие сырости. Несоблюдение этого условия может привести к заболеванию и смерти птиц;
- ячейки сетки должны быть строго определенного размера. При выборе установки необходимо появление птенцов. Если взрослый перепел не может пролезть через ячейку сетки, это не означает, что птенец не сумеет преодолеть эту преграду;
- необходим установленный температурный режим.
Оптимальная температура для перепелов около 20 градусов. Для поддержания температуры в пределах нормы рекомендуется использовать клеточные батареи; - размер сооружения определяется первнатых.На одного взрослого самца должно приходиться не меньше 15 сантиметров свободного пространства.
Важно! При обустройстве устройства необходимо не только взрослых особей. Должны быть Обеспечены места для несушек и птенцов!
Кроме того, каждый домик для птичек должен быть оборудован поилками, кормушками, поддонами для помёта и приспособления для сбора яиц. Обеспечив эти условия, разведение перепелов будет весьма продуктивным.
Возможно, кого-то напугает столь внушительный список требований.Не стоит беспокоиться, всё не так сложно, как кажется на первый взгляд. Зато обеспечив перепелов всем необходимым для их жизнедеятельности, вы можете рассчитывать на большую яйценоскость птиц. Именно этот фактор, играет большую роль в разведении этих пернатых.
Самостоятельное изготовление клетки для перепелов
Как уже упоминалось выше, домики для перепелов изготавливаются из определенных материалов. В этом разделе мы рассмотрим самостоятельное изготовление каждого вида клеток, ключевые особенности, достоинства и недостатки.
Для большего удобства приведенные конструкции подойдут для содержания 20 взрослых перепелов. Если у вас большее количество птиц, то следует изготовить клетки для перепёлок по приведенным рекомендациям, но используя большие размеры.
Клетка из сетки
Сетка для такой конструкции должна быть дюралевой или металлической с оцинкованным покрытием . Перед началом работ нелишним будет сделать чертежи будущей клетки, это облегчит работу.
Для стенок и потолка рекомендуется использовать сетку с размером ячеек 32х48 мм.Для изготовления диаметра ячеек должен быть в два раза меньше.
Размеры конструкции составляют: длина 70 см, высота 35 см и ширина 20 см.
Для каркаса можно использовать деревянные бруски или металлические уголки. Сразу следует отметить, что с деревом работать намного проще.
Схема сборки
Деревянные бруски скрепляются между собой гвоздями или саморезами, образуя каркас будущей клетки.
Сетку для стен раскраивают по размерам боковин и прикрепляют к каркасу.Для этого можно использовать гвозди для мебели или степлер.
Важно! Кончики гвоздей не должны выглядеть с внутренней стороны клетки! Птицы могут получить травму!
Сетка для изготовления пола раскраивается с учётом яйцесборника. Длина этого приспособления около 10 сантиметров. От края передней стенки должен остаться небольшой зазор, который через будут скатываться яйца. Один конец должен быть отогнутым вверх, а края с небольшими бортиками. Это поможет избежать падения яиц.
Пол устанавливается под небольшим углом к передней стенке клетки.
Дверца обычно делается в передней стенке конструкции.
Размер должен быть подобранным образом, чтобы можно было засунуть руку и свободно достать любой угол экрана. Дверца тоже делается из сетки, для фиксации можно использовать навесы.
Под дном рекомендуемый ящик для сбора помёта. Это облегчит процесс чистки клетки. Для этих целей лучше всего подходит пластиковый лоток.Он легко моется и не сохраняет запахов.
Преимущества. Домик из металлической сетки отличается долговечностью эксплуатации. Кроме того, она довольно гигиенична и препятствует проникновению ультрафиолетовых лучей. Клетки из сетки не подвержены возникновению сырости и легко дезинфицируются. Достаточно просто пересадить птиц и окатить конструкцию крутым кипятком.
Недостатки. При изготовлении сетка плохо гнётся и неровно обрезается. При отсутствии навыков работы с этим материалом, клетка может иметь непрезентабельный внешний вид.Кроме того, возможны сквозняки. Для поддержания необходимого температурного режима придётся установить клеточные батареи.
Клетки из фанеры
Практически все в детстве мастерили скворечники. В изготовлении этой конструкции принцип тот же самый. Обычно такие клетки делаются двухуровневыми, чтобы было выделено отдельное помещение для несушек. Для удобства рекомендуется сделать предварительные чертежи.
Схема сборки
Размеры домика из фанеры не отличаются от вариантов сетчатой конструкции.Эти параметры уже приводились выше, поэтому не имеет смысла их повторять.
Боковые стенки выполняются из цельных листов фанеры или ДВП. Материал распиливается по размеру и скрепляется деревянными брусками. Рекомендуется сделать в боковых стенках небольшие вентиляционные отверстия. Размер вентиляции, не должен иметь 2,5 сантиметра в диаметре.
Заднюю стенку, для большей надёжности конструкции, можно сделать из ДВП. В качестве крепежа подойдут небольшие гвозди или саморезы.Для большей надёжности соединений можно обработать стыки столярным клеем.
Передняя стенка клетки закрывается сеткой.
Пол выполнен из того же материала. В секции для несушек должен быть предусмотрен яйцеприёмник.
Дверца устанавливает на передней стенке по такому же принципу, как и в клетках из сетки.
Все деревянные детали необходимо обработать антисептиком или покрыть лаком.
Преимущества. Простота изготовления и доступность материалов.Такие приспособления выглядят довольно презентабельно и практичны в эксплуатации.
Недостатки. Дерево хорошо впитывает влагу, поэтому возможно образование сырости. Рекомендуется периодически просушивать клетки. Кроме того, дерево недолговечно, поэтому неосторожном обращении такую конструкцию легко повредить.
Клетка из пластика
Вполне современный и практичный вид клетки для перепёлок. Это приспособление способно собрать даже школьник, поэтому они пользуются большой популярностью среди заводчиков перепелов.
Для изготовления такой конструкции понадобятся пластиковые ящики для хранения овощей. Раздобыть необходимый материал можно на продовольственных рынках.
Если проявить должное обаяние и умение убеждать, исходный материал может достаться бесплатно.
Схема сборки
Для изготовления пластиковой клетки вам понадобятся три ящика. Один высокий (не менее 17 сантиметров) и два поменьше.
Необходимо спилить выступающие у ящиков уголки. Для этого можно воспользоваться ножовкой по металлу или дереву.Пластик легко подвергается обработке.
Один из низких ящиков будет играть роль поддона. На него устанавливается большой ящик, это будет корпус клетки. Сверху устанавливается оставшийся ящик — потолок.
В этой конструкции дверка будет располагаться сверху. Для этого дно верхнего ящика надпиливают с трёх сторон. Таким образом, его можно будет отгибать в сторону.
При необходимости ящики рекомендателей расширить. Голова птиц должна свободно проходить через сетку.
Преимущества . Простота конструкции, для изготовления таких клеток чертежи не требуются. Гигиеничность и долговечность материала.
Пластик легко чистится и может прослужить длительное время. Кроме того, птицы всегда будут находиться под визуальным контролем.
Недостатки . Ограниченность размеров. Присутствует изрядное количество птиц, понадобиться больше клеток, соответственно и помещение для перепелов придётся искать попросторней.Затруднительно сделать яйцесборник. Возможно, у профессиональных заводчиков есть свои секреты, как сделать это приспособление, но нам они неизвестны. Поэтому придётся проявлять фантазию.
Клетка для перепелов своими руками: пошаговая инструкция
Когда есть желание дома развести перепелок, для них придется построить жилье. Вольеры для этих птиц не подходят. Клетки, конечно, проще купить, но лишние затраты не каждому птицеводу по карману. К этому вопросу подойти творчески, то домашняя перепелиная ферма может быть оборудована самодельными домиками.Сейчас мы рассмотрим, как изготовлены клетки для перепелов своими руками из разных материалов.
Предъявляемые к клеткам требования
В первую очередь самодельная клетка для перепелов должна быть крепкой.
Если используется металлическая сетка, размер ее ячеек должен быть достаточно только для того, чтобы птица пролезла к кормушке. Через присутствующие в конструкции большие отверстия юркие перепела мгновенно повыскакивают.
Во время самостоятельного изготовления клеток для перепелов необходимо учесть количество поголовья.На одну птицу должно приходиться около 200 см 2 свободного пространства. Часто сделанные птицеводами домики используют для одной особи 150 см 2 свободного пространства, что тоже неплохо для перепелки.
Внимание! Помещение, где установлены клетки с перепелами, надо защитить от проникновения хищных животных и сквозняков.
Перепела в дикой природе обитают на густо заросших травой участках. Птицы любят полумрак и изредка выбираются на солнце.Аналогичную обстановку потребуется им обеспечить им дом.
Чертеж перепелиной клетки
Раз уж принято решение бесплатно построить дом, то понадобятся чертежи.
В принципе схема любой конструкции представляет обыкновенный ящик. Отличительной чертой является дно. Для взрослых перепелов его делают под уклоном 12 о в сторону яйцесборника. Когда самки начнут нестись, яйца по наклонному полу будут скатываться в закрепленный за пределами клетки лоток.
Исходя из того, что взрослой птице необходимо около 200 см 2 свободных места, вычисляем размеры клетки для перепелов, с учетом еще того, что семья из одного самца и четырех самок. Обычно ширину домика делают небольшую примерно от 30 до 50 см. Перепела растут небольшие, и высоты потолка 25 см им будет достаточно. Длину клетки рассчитывают по количеству живущих перепелов.
На представленном чертеже клетки для перепелов трехъярусная конструкция.Такие модели лучше всего подходят для домашнего пользования, благодаря экономии места. При желании ярусов можно сделать больше или меньше.
Совет! Изготовляя многоярусные конструкции, необходимо предусмотреть удобный доступ к верхней секции без использования подобных конструкций.
Размеры клеток для разновозрастного поголовья перепелов
Сейчас настало время рассмотреть клетки для содержания перепелов разного возраста. Если принято решение всерьез заняться разведением этой птицы, придется изготовить разновозрастные домики, отличающиеся своей конструкцией:
- Новорожденным птенцам до десятидневного потребятся брудеры.У такого домика три боковых стенки выполнены из ДСП, ДВП или фанеры. Передняя четвертая стенка, пол и потолок закрыты мелкоячеистой сеткой 10х10 мм. Вместо сетки, потолок можно закрыть ДВП или простым картоном. Кормушку с поилкой ставят внутрь, птенцам освещение и подогрев.
- Модель предназначена для молодых перепелов возрастом до 45 суток. В первую очередь конструкцию предусматривает пол из сетки с более крупными ячейками, но не более 16х24 мм. Все боковые стенки могут быть не сплошные.Здесь предпочитается сетка для клеток перепелов размером ячеек 24х24 мм.
- Домики для взрослых перепеловыми быть полностью сетчатыми или с тремя фанерными боковыми стенками.
Чтобы снизить стоимость расходных материалов, металлические боковые сетки заменяют пластиковыми аналогами. Размер ячеек сетки боковых стенок должен быть в пределах 32х48 мм, а для дна пойдет сетка с ячейками 16х24 мм. В домиках, где будут жить несушки, дно делают с уклоном в сторону лотка для сбора яиц. Сам лоток может быть просто продолжением дна, но обязательно с ограничителем на краю.Иначе яйца будут выкатываться, и падать на землю. - Особое внимание нужно обратить на клетки. Домики делают только из сетки с ячейками 32х48 мм. Причем важно ограничить птицам пространство меньшими размерами клетки и высотой потолка. Чем меньше перепелка будет двигаться, тем быстрее она наберет вес.
Разобравшись с требованиями, переходим к изготовлению по пошаговой инструкции для перепелов своими руками из разных материалов.
Домик из сетки с деревянной рамой
Представленная на фото клетка для перепелов имеет деревянный каркас. Все бока, потолок и пол закрыты металлической сеткой.
Поэтапная сборка конструкции состоит из следующих шагов:
- Деревянные элементы с помощью саморезов соединяют под прямым углом так, чтобы контур ящика получился. На угловых стыках можно прикрутить саморезами накладные металлические уголки. Они предотвратят расшатывание каркаса.
- Когда рама полностью будет готова, древесину желательно обработать антисептиком, затем вскрыть лаком. Эта процедура направлена на продление срока службы деревянного каркаса.
- Из металлической сетки выют фрагменты по размеру сторон каркаса. К деревянной раме сетку прибивают маленькими гвоздями, загибая их. Последним рядом гвоздей стараются натянуть сетку, чтобы она не провисала.
Когда каркас будет полностью обтянут, под низ крепят лотки для сбора яиц и установить под напольную сетку поддон из листовой стали.В финале нужно осмотреть конструкцию, чтобы на ней отсутствовали острые концы сетки и торчащие гвозди, которые могут пораниться перепела.
На видео показаны клетки для перепелов:
Бескаркасная клетка из металлической сетки
Самый простой и быстрый вариант собрать домик для перепелов — это выгнуть его из металлической сетки. Конструкция не предусматривает каркаса. Надо выполнить следующие действия:
- Изческой сетки сгибают прямоугольный короб.В такой конструкции отсутствуют две боковые стенки. Их вырезают отдельно, и с помощью проволоки крепят к получившейся коробке. Причем один фрагмент фиксируют наглухо, а во втором делают дверцу. Это будет лицевая сторона клетки.
- Для вырезают фрагмент из мелкоячеистой сетки, и крепят ее под углом 12 о в сторону клетки, где расположена дверца. Здесь же будет яйцесборник. Он является продолжением дна, только на краю крепится ограничитель из любой деревянной планки. Можно просто загнуть края сетки.
Домик для перепелов готов.
Осталось под сетку пола установить поддон и можно заселять птиц.
Фанерный домик
Изготовление фанерного домика оправдано чистотой помещения, где она будет находиться. Летящие с перепелов перья и пыль будут оседать на поддоне, а не падать на землю, как в случае с сетчатыми клетками.
Порядок изготовления фанерного домика из следующих шагов:
- Из деревянного бруса сечением 50х50 мм изготавливают каркас.Желательно делать многоярусную конструкцию на ножках. Рама изготавливается по методу каркасной клетки из сетки.
- Получившийся скелет конструкции необходимо обшить. Здесь подойдет тонкая фанера или ДВП. Фрагменты вырезают по размеру трех боковых сторон и потолка. В листах сверлят несколько рядов вентиляционных отверстий диаметром 30 мм. Каждый фрагмент прибивают к каркасу гвоздями.
- Готовую конструкцию обрабатывают антисептиком, после чего вскрывают лаком. Из аналогичных брусков создают рамы дверок для каждой секции.
Из металлической сетки вырезают фрагменты по размеру рамок и крепят ее гвоздями. Готовые дверцы с помощью навесов закрепляют к раме на лицевой части домика.
Пол, продолжение которого является яйцесборником, вырезают из мелкоячеистой сетки и прибивают к раме гвоздями. Под пол каждой устанавливают поддон.
Домик из пластиковых ящиков
Нельзя сказать, что клетка для перепелов из пластиковых ящиков идеальный вариант, но как выход из ситуации на первое время приемлема.Чтобы собрать конструкцию три пластиковых ящика одинакового размера, но разной высоты. Устанавливают контейнера на друга так, чтобы высокий ящик оказался между двумя низкими. Нижний контейнер будет поддоном клетки. В ящике ножом вырезают проем для дверцы. В боковой полке среднего ящика увеличивают отверстия, чтобы перепелка смогла просунуть голову к кормушке.
На видео клетки для перепелов своими руками из ящиков:
Что такое клеточные батареи
Дома и на производстве хорошо зарекомендовали себя клеточные батареи для перепелов, позволяющие экономить полезную площадь.Что же это такое? Ответ прост. Батарея представляет набор клеток, набор друг на друга. То есть, изготавливается многоярусная конструкция. Каждая секция оснащается своим полом, поддоном и яйцесборником. Материалы и метод изготовления клеточных батарей ничем не отличаются от выше рассмотренных конструкций.
Итак, мы рассмотрели, как сделать клетку для перепелов своими руками из разных материалов. Дело — это не сложное, но требует определенных навыков. В любом случае самодельные домики обойдутся птицеводу дешевле магазинных.
Клетки для перепелов своими руками размеры и чертежи. Фото
В загородном доме или на даче начать разводить перепелов, которые абсолютно нетребовательны к разведению в условиях неволи.
Эти птицы отблагодарят успешного заводчика достаточным набором яиц и вкусным мясом. Для разведения можно самостоятельно изготовить клетки для перепелов своими руками, размеры и чертежи в статье. Конечно, клетки продаются и в зоомагазине, однако использовать предметы, сделанные своими руками приятнее.
Выбор материалов для перепелиных клеток
Птицеводы научились изготавливать клетки для перепелов из различных доступных материалов. Чаще всего используется сетка, пластик и фанера. Однако известны способы изготовления из пластиковых ящиков и других подручных материалов.
В любом случае, начинать стоит с изготовления чертежей на бумаге, а потом проект можно успешно воплотить в жизнь.
- Клетка из металлической сетки может быть с каркасом и без него.В такой конструкции легко поместится около 20 взрослых особей. Весь процесс изготовления также очень прост, не нужны специальные знания и инструменты. Для постройки каркаса понадобятся деревянные бруски небольшого размера, которые соединяются вместе.
Размер конструкции выбирается в зависимости от размеров помещения, где клетка будет стоять. К готовому каркасу крепится потолок, дно, а боковины обтягиваются металлической сеткой. Рекомендуемая высота клетки от пола до потолка должна составлять около 20-25 см, но не больше.Можно изготовить сразу несколько ярусов, в каждом будет располагаться одна стая птиц. При бескаркасной конструкции, стальная сетка изгибается в виде коробки нужного размера. Края соединяются хомутами. В обоих случаях соблюдения гигиены и облегчения уборки нужно изготовить лоток для сбора птичьего помета. - Клетка для перепелов из фанеры тоже очень практична, а затраты на ее изготовление — минимальны. Такую клетку легко link в городской квартире или даже на даче. Для более крепкого основания можно соорудить каркас, а можно построить ее и без каркаса.Конструкция в любом случае будет достаточно надежной и крепкой. Для большей практичности можно стенку обработать лаком или краской. Важно хорошо просушить ее, чтобы внутри не было запаха.
Короб собирается с помощью саморезов и угол из дерева или стали. Сетка крепится с помощью мебельного степлера или гвоздями. - Клетка из пластика — это современный вариант, который отличается долговечностью, надежностью и практичностью.
Рекомендуем прочитать статью: Изготовление клетки для перепелов из пластиковых ящиков.
В клетках любой конструкции рекомендуется изготовить яйцесборник. Перепела несут свои яйца прямо на пол, поэтому нужно, чтобы они скатывались и собирались в яйцесборнике, который является продолжением пола. Для этого, угол наклона сетки пола должен составлять около 10 градусов. Длина яйцесборника составляет около 8-10 сантиметров и для фиксации яиц изготавливают бортик для предупреждения перекатывания яйца на пол.
Схема изготовления яйцесборника Даже начинающий заводчик без труда соорудит клетки для перепелов своими руками, размеры и чертежи которых представлены в статье.Выбрав наиболее предпочтительный вариант, можно смело разводить перепелов и употреблять пищу для здоровья яйца и сочное, диетическое мясо.
Продолжить чтение на сайте fermeru.pro.
Клетки для перепелов: размеры которых перепелиных на 50 голов — высота, сетка, яйца
Сегодня все чаще и чаще люди стали выращивать на своем подворье различные виды птиц, одними из которых являются перепелки. Для получения гарантированной прибыли необходимо придерживаться некоторых правил содержания.Во-первых, стоит позаботиться о комфортном пребывании птиц, а это невозможно без клетки.
Кроме этого, стоит позаботиться про необходимый температурный режим. В помещении, где будут содержаться перепелы присутствовать температура выше 20-24 градусов. Также на интенсивный рост перепелов влияет такой фактор, как освещенность. Длительность светового дня составит 17-18 часов.
Необходимые параметры для изготовления клетки
Содержать перепелов можно в клетках, которые могут купить в готовом виде и просто их собрать, или же, используя подручные материалы, соорудить ее своими руками.Если вы решили воспользоваться вторым интерфейсом, то процесс создания такой конструкции осуществляется по стандартной схеме.
Инструкцию «Кролиководство для начинающих» найдете тут.
В этом случае необходимо придерживаться следующих габаритов:
- высота задней части будет составлять 18 см;
- высота передней части составляет 20 см;
- для обустройства нижней части стоит использовать ячейку сетки 12х12 мм, а диаметр проволоки 0,9-2 мм;
- угол наклона сборника для яиц должен составлять 10 градусов;
- сборник для яиц должен быть оснащен боковыми бортиками, которые выступают на 10 см.
Как сделать клетку для перепел здесь опис.
Сборка перепелиной клетки собственноручно — чертеж
Если вы решили приобрести уже готовый вариант, то вам необходимо затратить на это 2 часа. Главная заготовка имеет такие габариты: 105х70 см. Из ее отходов вы получите боковые стенки, размеры которых 30х30 см.
Размеры клеток для бройлеров указаны по ссылке.
После этой заготовки сгибается при соблюдении следующих размеров:
- высота передней части 16 см;
- высота задней части 14 см;
- ширина стороны, расположенной сбоку, достигает 30 см;
- оставшийся материал заготовки можно задействовать для обозначения сборника для яиц.

Для закрепления боковых стенок необходимо воспользоваться хомутами из пластика. После этого нужно загибать концы яйцесборника, учитывая тот факт, что его высота должна составлять не менее 3 см.
Для клетки пола пойдет ячеистая сетка. Ее размеры должны быть чем, чем у основной заготовки. Чтобы пол принял максимальную устойчивость, на основании клетки должен быть укреплен металлическими заготовками. Самым отличным считается оцинкованное железо. Дверца вырезают сверху. Для большего комфорта это может быть ширина по всей верхней поверхности.
Рекомендуем вам прочитать о том, как сделать клетку для бройлеров в данном материале.
Чтобы на сгибах сетки получились прямые углы, которые не закругленные, необходимо во время загиба использовать две обрезные доски, толщина которых оставляет 5 см. Для их соединения использовать две петли. Сетка для клеток птиц просовывается в щели, которые созданы между досками.
В этом случае нужно отмерить требуемый размер изгиба и доски, а затем сложить два полученных значения.
Для опоры служат не только дно, то и торцевые стенки конструкции. Здесь стоит предусмотреть пространство, которое потребуется для того, чтобы вставить лоток для помета. Для его изготовления используется ДВП, фанера или деревянная рейка.
Как происходит выращивание кур бройлеров на описание в этой статье.
После того, как клетка была собрана, необходимо произвести ряд мероприятий, перед тем, как перепелы будут там обживаться.Для этого обязательными составами обработки дезинруфицирующими средствами. Они предотвращают неприятный запах селитры, развивающий от перепелиного помета.
Размеры и площадь для деревянной конструкции своими руками
Такой вариант конструкции действует редко. Большинство фермеров все же отдают предпочтению проволочным самодельным клеткам. В роли основного материала выступает фанера. Процесс изготовления дна аналогичен предыдущему варианту.
Фанерная клетка для перепелов имеет такие размеры:
- высота задней части составляет 18 см;
- высота передней части составляет 20смв;
- угол наклона пола — 10 °.
Для нормального проживания одной взрослой птички понадобиться 1,5 дм3 площади всей конструкции.
Породы кур несушек по предложенной ссылке.
Размеры в зависимости от количества перепелок
Кроме этого, размеры клеток для перепелов изменения в зависимости от того, какое количество голове то там проживать:
- 10 голов — размеры по полу 350 х 275 мм;
- 20 — размеры по полу 500 х 350 мм;
- 30 — размеры по полу 650 х 475 см;
- 40 — конструкция состоит из их двух отделений, каждая из которых подходит для разведения 20 птиц;
- 50 — размеры по полу 1050х825 мм;
- 1000 — клетка состоит из 4 отделений, в каждом из которых содержится 20 голов.
Читайте также о том, чем кормить перепелок.
Как изготавливать — расчет основных оптимальных размеров
Для рационального использования всех нормальных размеров клеток.
Оптимальной высотой считает 250 мм, благодаря чему конструкция может быть выполнена в 4 или 5 ярусов. Здесь все зависит от высоты помещения. Принимая во внимание нижний ярус, который находится на уровне в 300 мм от пола.
Содержание птиц может происходить в цельнометаллических, деревянных и комбинированных клетках, для которых характерны различные конструкции и размеры.
Для блока из 5 ярусов необходимо придерживаться высоты 1600 мм. Таким образом, уход за птицами будет работать комфортно. В рассматриваемом варианте на 1 м2 конструкции можно будет содержать 60 птиц. Если придерживаться 5-ти ярусной конструкции, то количество перепелов увеличится до 300 штук.
Возможно, вас также заинтересует информация о разведении и кормлении в домашних условиях.
полученным данным удается правильно сделать все расчетные мероприятия и переходить к непосредственному разведению перепелов.
Если размеры помещения небольшие, то установка ярусов может быть произведена вдоль стен или аналогично стеллажами в библиотеке. В данном случае клетки задней части будут располагаться близко друг к другу. Между рядами должно быть соблюдено расстояние не меньше 80 мм.
клетки для перепелов должны соответствовать экологическим особенностям.
Чем кормить, чтобы хорошо неслись, поможет понять данную информацию.
Видео
Видео расскажет о том, как сделать клетку для перепелов своими руками.
Содержась перепелов — дело нетрудоемкое.
Определенные сложности при возведении клеток, особенно, если вы выбрали вариант самостоятельного изготовления. Чтобы конструкция была максимально удобной для птиц и животных, необходимо четко придерживаться размеров.Рекомендуем также ознакомиться с описанием маньчжурской породы.
Клетки для Перепелов Своими Руками Размеры Уход (3 Вида)
Приусадебное хозяйство / 26-июл, 2018,17; 15 / 6228Эта статья будет очень полезной для тех, кто хочет выращивать перепелов, но не знает о том, в каких условиях их нужно содержать. Здесь можно прочитать, а также просмотреть в видео, как всего за 45 минут можно сделать идеальную клетку для перепелов в домашних условиях — самое подходящее жилье для разведения этой птицы.В таких условиях, которые вы создадите своими руками, перепела будут набирать вес быстрее нормы, и в то же время радовать высокой производительностью яиц.
Вы сможете увидеть, как самостоятельно делаются универсальные клетки для перепелов, которые подходят для разведения этих пернатых, как на даче, так и в квартире.
По словам птицеводов, наиболее оптимальной плотностью для посадки перепелов в клетке является та, при которой одной птице выделяется 150 см кв., Когда содержится родительское стадо, и 120 см кв., в случае, если вы разводите яйца и мясо. Из таблицы, представленной ниже, вы взять расчеты для будущих чертежей птичьих домиков, которые рассчитаны на посадку 10, 30, 50 голов перепелов. Размеры клетки, которая рассчитана на голов птицы: 10 шт. 30 шт. 50 шт.
перепела родитель стада 30х75 см 45х150 75х150 см
перепела для яиц и мяса 25х60 см 35х120 см 60х120 см
Если рассматривать птиц с целью получения натуральной продукции — яиц и мяса, то следует делать клетки см, порядок 18–20 см.За счет небольшого пространства пернатые будут малоподвижными, что позволит перепелам быстро прибавлять в весе. В то же время благодаря малой подвижности половое созревание птицы будет наступать позже обычного, что позитивно повлияет на качество мяса.
Универсальная клетка — чертеж:
1 — каркас клетки; 2 — поилка; 3 — дверца; 4 — лоток на корм; 5 — сборник для яиц; 6 — пол; 7 — поддон для помета.

Может случится так, что из-за небольшой площади помещения будет проблематично смастерить клетку большого размера для перепелов.В этом случае рекомендуется соорудить несколько небольших птичьих домиков, и затем поставить их один на другой. Это должны быть клетки с одинаковой конструкцией, формой и размером. Для надежности их следует скрепить с помощью проволоки. Как видно из чертежа, будет достаточно 3–4 яруса, при этом жилье для птиц будет гарантированно неподвижным. Нужно помнить, что первая клетка должна располагаться над полом на высоте не меньше 10–30 см.
Деревянные клетки
Самодельная клетка для перепелов из дерева или фанеры обладает двумя главными преимуществами — производственными материалами и легкостью ухода за такой клеткой.Если вы планируете строить многосекционное жилье для птицы, тогда есть резонатор делать приблизительные чертежи.
В случае с общим отсеком в чертежах нетобности. Что нужно подготовить для сооружения птичьих домиков
Перечень необходимого и инструмента:
• дерево, или фанера, или ДВП;
• уголки из дерева;
• сетка с ячейками размером минимум 16х24 мм;
• пила;
• стамеска;
• саморезы;
• нож по металлу;
• гвозди или мебельный степлер.
Пошаговое описание работ по изготовлению клеток для перепелов своими руками
1 . Берем пилу и вырезаем из дерева заднюю, верхнюю и боковую стенку. Чтобы сделать размеры стенок, сделать расчет посадки необходимого числа перепелов.
2 .Далее берем стамеску и в боковых стенках проделываем небольшие отверстия диаметром примерно 30 см. Благодаря им в птичье жилище будет поступать свет. Можем выполнить по несколько отверстий в стенках диаметром по 10 мм.
3 . Обрабатываем деревянные стенки антисептиком и после этого покрываем лаком.
4 . Берем ножовку по металлу, и вырезаем из сетки фрагмент нижней части клетки — пола / яйцесборника, и передней стенки.
Нужно учитывать, что передняя сетка должна быть с ячейками такого размера, при перепел мог бы просунуть голову. В то же время, чтобы было удобно собирать яйца. 5 .Для соединения всех деревянных деталей между собой используем саморезы или гвозди. Если у нас элементы из фанеры, можно скрепить мебельным степлером.
6 . Для закрепления деталей из сетки на частях применяем саморезы. Сетчатый пол крепим между деревянными стенками на расстоянии порядка 5–8 см от пола. В этом месте позже будет лоток для помета. Размещаем под наклоном 10 ° — это несовершенное наклон для того, чтобы яйца скатывались к передней части клетки, и птица не чувствовала неудобств.
7 . В конце на передней стенке при помощи проволоки крепим кормушку и поилку. Они должны располагаться не выше, чем грудь птицы — так перепелам будет удобнее ими пользоваться.
Размеры клетки для перепелов
Каркас клетки из деревянных брусков.
К деревянному каркасу сетка крепится шурупами с большими шляпками.


А значит, не сможет нанести вред птицам.
Вверху каждого отрежьте выступающие уголки.
Металлическую сетку для стен можно брать больше, чем для пола. В боковых деталях сразу просверлите отверстия для вентиляции, установки приборов освещения.

У такого домика три боковых стенки выполнены из ДСП, ДВП или фанеры. Передняя четвертая стенка, пол и потолок закрыты мелкоячеистой сеткой 10х10 мм. Вместо сетки, потолок можно закрыть ДВП или простым картоном. Кормушку с поилкой ставят внутрь клетки, птенцам обеспечивают освещение и подогрев.
Сам лоток может быть просто продолжением дна, но обязательно с ограничителем на краю. Иначе яйца будут выкатываться, и падать на землю.
Они предотвратят расшатывание каркаса.
Получилась передняя стенка лотка для яиц;
см. без нарушения для здоровья птиц.
Так как сетка мелкая, потребуется вырезать несколько кусков, чтобы они могли пролезть птичьи головы.
Все прочно скрепите проволок из металла.
Металлическую сетку для стен можно брать больше, чем для пола. В боковых деталях сразу просверлите отверстия для вентиляции, установки приборов освещения.

Оптимальная температура для перепелов около 20 градусов. Для поддержания температуры в пределах нормы рекомендуется использовать клеточные батареи;
Чтобы снизить стоимость расходных материалов, металлические боковые сетки заменяют пластиковыми аналогами. Размер ячеек сетки боковых стенок должен быть в пределах 32х48 мм, а для дна пойдет сетка с ячейками 16х24 мм. В домиках, где будут жить несушки, дно делают с уклоном в сторону лотка для сбора яиц. Сам лоток может быть просто продолжением дна, но обязательно с ограничителем на краю.Иначе яйца будут выкатываться, и падать на землю.
Из металлической сетки вырезают фрагменты по размеру рамок и крепят ее гвоздями. Готовые дверцы с помощью навесов закрепляют к раме на лицевой части домика.
Размер конструкции выбирается в зависимости от размеров помещения, где клетка будет стоять. К готовому каркасу крепится потолок, дно, а боковины обтягиваются металлической сеткой. Рекомендуемая высота клетки от пола до потолка должна составлять около 20-25 см, но не больше.Можно изготовить сразу несколько ярусов, в каждом будет располагаться одна стая птиц. При бескаркасной конструкции, стальная сетка изгибается в виде коробки нужного размера. Края соединяются хомутами. В обоих случаях соблюдения гигиены и облегчения уборки нужно изготовить лоток для сбора птичьего помета.
Короб собирается с помощью саморезов и угол из дерева или стали. Сетка крепится с помощью мебельного степлера или гвоздями.